Improvement of train passage technology with automation of dispatching management
- Authors: Marchenko M.А.1, Pokrovskaya O.D.1
-
Affiliations:
- Emperor Alexander I St. Petersburg State Transport University
- Issue: Vol 11, No 3 (2025)
- Pages: 359-371
- Section: Reviews
- URL: https://transsyst.ru/transj/article/view/689788
- DOI: https://doi.org/10.17816/transsyst689788
- ID: 689788
Cite item
Full Text
Abstract
The most important component of the Russian transport and logistics complex is rail transport, which is essential for the normal functioning and development of the Russian economy. In the context of Western sanctions, the need to develop railway infrastructure and train traffic management systems is particularly important, as the sovereignty of the state depends on the stability of railway networks. The study identifies the challenges and prospects for the development of the transport and logistics complex in the Russian Federation in the coming years, and highlights the importance of increasing the carrying capacity of the Eastern railway network in the new geopolitical and economic conditions through organizational measures (improving traffic management). The objective of this research is to develop a method for automating dispatching control, which will improve the technology for passing trains on heavily loaded sections. The research methodology is based on statistical data analysis, approaches to mathematical and simulation modeling in railway transport, and the theory of automatic control as a tool for implementing the proposed method and its implementation of the research results on the network of Russian Railways. The results of the study include the consideration of key problems and factors that hinder the implementation of measures to increase the carrying capacity and throughput of railway sections; experiments that resulted in the proposed method of train dispatching during heavy freight traffic. Based on the results of the simulation, the application of the proposed method is demonstrated, and conclusions are drawn about the feasibility of its implementation on the Russian Railways network, which confirm the scientific value of the research results and their relevance for practical application.
Full Text
Введение
В настоящее время роль железнодорожного транспорта в обеспечении экономического суверенитета и устойчивого развития Российской Федерации неуклонно возрастает [1]. В связи с западными санкциями с начала 2022 г. началась глобальная перестройка логистических цепочек и маршрутов в связи с изменениями рынков поставок и сбыта. Поскольку главенствующая роль в обеспечении транспортной связи центральных регионов и удаленных от центра страны (например, дальневосточных регионов) принадлежит железнодорожному транспорту, подобная перестройка логистики затронула и железнодорожную отрасль. В частности, в связи с установившимся политическим и экономическим сотрудничеством Российской Федерации со странами Персидского залива и Азиатско-тихоокеанского региона возникла потребность в усилении пропускной способности железнодорожной инфраструктуры, во-первых, в составе транспортного коридора «Север–Юг» (обеспечивающего транспортную связь центральных и южных регионов России), во-вторых, Восточного полигона (перевозки между Центральной Россией и портами Дальнего Востока). В связи с прекращением экономического сотрудничества со странами Европейского союза и появлением новых рынков для российских производителей и перевозчиков неотъемлемым фактором стал повышенный уровень качества транспортного обслуживания, так как транспортный рынок по своей структуре является олигополией, и для успешной конкуренции с устоявшимися на рынках игроками для российских перевозчиков важно предоставлять высокий уровень сервиса [2–7].
В ключе необходимости предоставления высокого качества оказания транспортной услуги при перемещении продукции между морскими портами Дальнего Востока и регионами центральной России важная роль отводится повышению ритмичности пропуска поездов по Транссибирской и Байкало-Амурской магистралям. С 2023 г. реализуется проект, направленный на увеличение провозной способности Восточного полигона, который уже принес определенные результаты. К примеру, в 2024 г. по Восточному полигону было перевезено 180 млн т груза, в то время как потребная провозная способность составляет более 255 млн т (на 42%). В соответствии с указанным проектом увеличения провозной способности, на такие показатели предполагалось выйти к только 2032 г. В рамках данного проекта реализуются преимущественно технические мероприятия, такие как: техническая реконструкция железнодорожных участков в целях повышения максимально допустимого веса поездов, постройка второго главного пути на Байкало-Амурской магистрали, внедрение «виртуальной сцепки». Несмотря на эффективность реализуемых мер по усилению провозной способности, необходима реализация и организационных мер, направленная на рационализацию составления графика движения поездов на Восточном полигоне для повышения ритмичности его работы [8].
Подробнее рассматривая реализацию текущих мероприятий в рамках действующего проекта увеличения провозной способности Восточного полигона, следует подробнее рассмотреть технологию «виртуальной сцепки». Она позволяет с обеспечением безопасности движения поездов осуществлять их пропуск с интервалом всего в 5 минут. Практика эксплуатации данной технологии на Восточном полигоне, однако, выявила ряд недостатков. Несмотря на оптимально подобранную частоту радиоканала в 160 МГц для увязки локомотивов, следующих в сцепке, остается нерешенным вопрос помехозащищенности канала от экранирования радиосигнала вагонами переднего поезда и складками местности. Кроме того, требует проработки остающийся актуальным в наше время вопрос нарушения ритмичности движения поездов вследствие возникающих отклонений от нормативного графика движения поездов. Данная проблема проявила себя в 1970-е гг. при росте грузового движения в пределах железнодорожных полигонов Советского Союза. Предложением по ее решению было добавление дополнительного блок-участка к минимально допустимому расстоянию, в соответствии с которым определялся межпоездной интервал. Однако в современных условиях зачастую уже недостаточно одного дополнительного блок-участка. Схема движения поездов, разграниченных тремя блок-участками, приведена на Рис. 1.
Рис. 1. Схема движения поездов, разграниченных тремя блок-участкам
Fig. 1. Scheme of train movement, delimited by three block sections
Таким образом, на сегодняшний день наблюдается проблема нехватки третьего блок-участка для погашения неравномерности движения поездов вследствие роста объема грузовых перевозок. В исследовании предлагается ее решение путем увеличения интервала отправления поездов в оперативном порядке в том случае, если на участке наблюдается сгущение поездопотока, обнаружение которого предполагается методом линейной регрессии. При выявлении сгущения поездопотока поездной диспетчер получает рекомендацию об изменении продолжительности интервала отправления поездов в информационной системе в виде всплывающего окна. Данный метод позволит снизить густоту поездопотока и улучшить показатели выполнения графика и работы участка.
Материалы и методы
Причина снижения ритмичности движения поездов и их технической скорости была выявлена в середине прошлого века. В ходе экспериментов было выяснено, что при движении поездов фактическое время их движения отклоняется от нормативного согласно нормальному закону. Результаты данных экспериментов дают теоретическое объяснение причин снижения технической скорости поездов при их сгущенном движении по участку, однако для разработки методов организации движения поездов, позволяющих повысить ритмичность их пропуска, были необходимы более детальные эксперименты с учетом веса поездов, а также плана и профиля перегонов [9].
В исследовании были применены методы статистического анализа для выявления закона распределения отклонения величины времени хода поезда от графика, математического и имитационного моделирования для проверки функционирования предлагаемого метода автоматизации диспетчерского управления на основе материалов [10–12].
В рамках настоящего исследования данные эксперименты были проведены на основе статистического анализа значений времени проследования поездом каждого блок-участка на перегоне железнодорожного участка, предоставленного к рассмотрению Октябрьской дирекцией управления движением ОАО «РЖД». Релевантность экспериментов основана на технической документации [13, 14], согласно которой расстановка проходных светофоров на перегоне происходит согласно кривой времени хода. График распределения величины отклонения представлен на Рис. 2.
Рис. 2. Результаты эксперимента исследования зависимостей отклонений от веса поезда
Fig. 2. Results of the experiment to study the dependence of deviations on the weight of the train
График свидетельствует о наибольшем отклонении от нормативного времени хода у грузовых поездов большего веса, в данном случае это поезда весом 7 100 т. Наблюдается закономерность: чем меньше вес поезда, тем меньшие отклонения от нормативного времени возникают в процессе движения поездов. При этом в среднем отклонение времени хода у поездов весом 7 100 т и 6 300 т, а также у поездов весом 6 300 т и 4 500 т составляет 10,3%, что позволяет говорить о корреляции средней величины отклонения поезда от графика и его весовой категорией. При этом отличие времени хода у отдельно взятой категории поезда по разным перегонам участка составляет менее 7%, что обуславливается требованиями [8] и свидетельствует об отсутствии корреляции между величиной отклонений и значениями уклонов профиля пути.
В ходе исследования было подтверждено подчинение распределения значений времени, за которое каждый поезд проследовал каждый блок-участок перегона закону нормального распределения методом критерия Пирсона. С этой целью была произведена корреляция эмпирических значений с теоретическими, соответствующими закону нормального распределения. Выявленное расхождение в 6% позволяет утверждать, что величина отклонения времени хода поездов подчинена закону нормального распределения для грузовых поездов с различными весовыми нормами.
Методика эксперимента состоит в сборе статистических данных о времени, за которое каждый поезд проследовал каждый блок-участок перегона. Рассчитывается значение среднеквадратического отклонения, которое сопоставляется с временными границами, за пределы которых не должно выходить данное значение. Тенденция на увеличение величины отклонений с превышениями верхней границы означает, что на участке наблюдается сгущение поездопотока, и следует увеличить интервалы отправления поездов. Тенденция на уменьшение величины отклонений свидетельствует о разреженном движении и возможности сокращения интервалов с учетом технических возможностей систем сигнализации, централизации и блокировки.
Таким образом, экспериментально было подтверждено подчинение величины отклонения времени хода поездов от нормативных значений нормальному закону распределения методом критерия Пирсона.
На основе проведенных экспериментов была предложена концепция решения, заключающееся в изменении величины межпоездного интервала диспетчерским приказом в зависимости от оперативной обстановки. Данное решение позволяет предотвратить вероятность снижения технической скорости поезда на перегоне вследствие его следования на желтый или красный сигнал проходного светофора. В случае сгущения поездопотока межпоездной интервал увеличивается при отправлении поездов со станции [15]. Концепция предлагаемого решения приведена на Рис. 3.
Рис. 3. Концепция предлагаемого метода
Fig. 3. Concept of the proposed method
Согласно данной концепции, предлагается установление верхней и нижней границ допустимого отклонения, за пределы которых не должно выходить фактическое время хода поездов. В ходе исследования предложено при разработке графика движения поездов осуществлять прокладку ниток грузовых поездов пакетами: четыре нитки через межпоездной интервал, а после четвертого поезда делать увеличенный интервал на 30% при трехзначной автоблокировке.
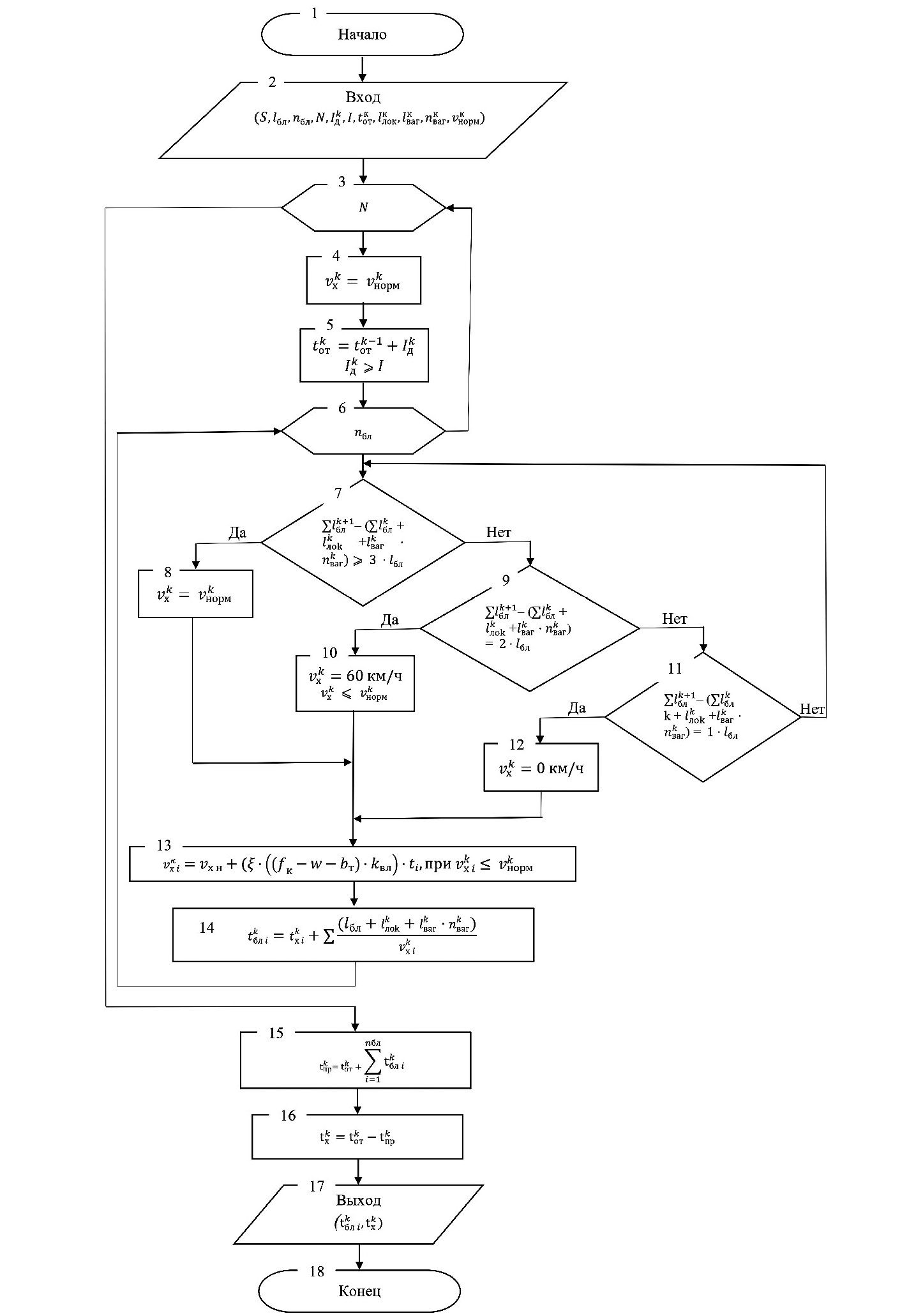
В исследовании была предложена математическая модель, позволяющая отражать движение поездов с учетом изменения ритмичности их следования при сгущении поездопотока. Модель представлена на Рис. 4.
Рис. 4. Предложенная автором математическая модель
Fig. 4. The mathematical model proposed by the author
Результаты исследования
Результаты имитационного моделирования движения поездов при увеличенном интервале демонстрируют рост технической скорости. График зависимости приведен на Рис. 5.
Рис. 5. Зависимость скорости поездов от изменения интервала
Fig. 5. Dependence of train speed on the change in interval
График демонстрирует, что при увеличении интервала наблюдается рост технической скорости на участке. При этом увеличивается число пропущенных поездов по участку. Демонстрирующая это увеличение зависимость приведена на Рис. 6.
Рис. 6. Зависимость пропускной способности от изменения интервала
Fig. 6. Dependence of throughput on interval change
График демонстрирует рост пропускной способности участка при уменьшении интервала, однако при величине интервала, превышающей 20% от минимального, наблюдается снижение пропускной способности участка. На Рис. 7 и 8 приведены диаграммы, демонстрирующие изменение технической скорости и пропускной способности.
Обсуждение
Результаты исследования прошли апробацию на грузонапряжённом участке полигона Октябрьской железной дороги. По итогам проведенной апробации было подтверждено увеличение технической скорости поездов при увеличении межпоездного интервала диспетчерским приказом при увеличении плотности поездопотока. Предложенный метод получил положительные отзывы работников диспетчерского центра управления перевозками Октябрьской железной дороги. Также результаты исследования, составляющие основное содержание диссертационной работы, докладывались, обсуждались и получили одобрение научных экспертов на многочисленных научных конференциях и расширенных заседаниях кафедр «Управление эксплуатационной работой» ФГБОУ ВО ПГУПС (г. Санкт-Петербург) и ФГБОУ ВО ПривГУПС (г. Самара).
Предложенный в ходе исследования метод целесообразнее всего применять на линиях с интенсивным движением, как грузовым, так и пассажирским. Его применение возможно только на линиях, оборудованных автоблокировкой. Однако данный метод возможно применять в совокупности с технологическим комплексом «Виртуальная сцепка».
В перспективе предполагается интегрирование предложенного метода в виде цифрового ассистента, помимо ГИД «Урал-ВНИИЖТ» в программные комплексы АПК «Эльбрус», ИСУЖТ, предназначенные для построения вариантных энергоэффективных графиков; системы автоведения поездов и в технологический комплекс «Виртуальная сцепка».
Рис. 7. Изменение технической скорости
Fig. 7. Change in technical speed
Рис. 8. Изменение пропускной способности
Fig. 8. Changing the throughput
Заключение
Таким образом, проведенные и описанные в работе эксперименты подтвердили подчинение величины отклонения времени хода поезда от нормативного нормальному закону распределения в современных условиях. На основе полученных результатов предложен метод, позволяющий снизить последствия сгущения поездопотока на грузонапряженных участках без необходимости их технической реконструкции. Результаты исследования, прошедшие апробацию в реальных условиях, свидетельствуют о повышении технической скорости на 13%, а пропускной способности – на 10%. Наиболее актуальным полигоном на сети ОАО «РЖД» для внедрения предлагаемого метода является Транссибирская и Байкало-Амурская железнодорожные магистрали, входящие в состав Восточного полигона, поскольку его включение в действующую технологию пропуска поездов требуют меньше капитальных вложений по сравнению с технической реконструкцией. При этом достигаемый эффект позволяет ускорить выход величины провозной способности Восточного полигона на потребное значение, тем самым обеспечив экономическую независимость и устойчивое развитие Российской Федерации
Авторы заявляют, что:
- У них нет конфликта интересов;
- Настоящая статья не содержит каких-либо исследований с участием людей в качестве объектов исследований.
The authors state that:
- They have no conflict of interest;
- This article does not contain any studies involving human subjects.
About the authors
M. А. Marchenko
Emperor Alexander I St. Petersburg State Transport University
Author for correspondence.
Email: maks.marchenko1998@mail.ru
ORCID iD: 0000-0003-3191-3665
SPIN-code: 1531-5337
Postgraduate Student
Russian Federation, St. PetersburgO. D. Pokrovskaya
Emperor Alexander I St. Petersburg State Transport University
Email: insight1986@inbox.ru
ORCID iD: 0000-0001-9793-0666
SPIN-code: 8252-2587
Dr. Sci. (Engineering), Associate Professor
Russian Federation, St. PetersburgReferences
- Transport Strategy of the Russian Federation until 2030 with a forecast for the period up to 2035. Approved by Order of the Government of the Russian Federation No. 3363-r dated November 27, 2021. Accessed: 05.06.2025. Available from: http://static.government.ru/media/files/7enYF2uL5kFZlOOpQhLl0nUT91RjCbeR.pdf (In Russ.)
- Kurenkov PV, Volov VT, Gerasimova EA, et al. Russian Logistics under Sanctions and Anti-Sanctions Logistics. Social, Economic, and Humanitarian Journal. 2023;3:117–120. (In Russ.) doi: 10.36718/2500-1825-2023-3-117-126
- Kurenkov PV, Gerasimova E.A, Mizeev M.M, Cherkasova DO. Issues in the Organization of Multimodal Cargo Transportation. In: Advanced Technologies in the Operation of Ground Transport and Logistics Systems. Collection of papers from the International Scientific and Technical Conference of Students, Master's Students, Postgraduate Students, and Young Scientists dedicated to the 110th anniversary of Professor Karakulev's birth. Kazan. 2024;211-217. (In Russ.)
- Pokrovskaya OD. Development of Russia's logistics transport system under sanctions. Bulletin of Scientific research Results. 2023;3:58-72. (In Russ.)
- Pokrovskaya OD., Shugaev OV. Logistics and efficiency of heavy traffic. International Journal of Advanced Studies. 2024;14(3):174–187. (In Russ.)
- Nikiforova GI. Analysis of the logistics route of cargo delivery in modern conditions. IV Betancourt International Engineering Forum. St. Petersburg: Emperor Alexander I St. Petersburg State Transport University. 2022. (In Russ.)
- Nikiforova GI, Podverbnykh NB, Fedorova NB. Development of container transportation by rail in modern conditions. Transport Engineering: Education and Practice. 2022;3(4):405–409. (In Russ.)
- Passport of the federal project “Development of the railway infrastructure of the Eastern polygon of railways”. Ministry of Transport of the Russian Federation, 2023. Accessed: 05.06.2025. Available from: https://mintrans.gov.ru/documents/8/12716?ysclid=md2qno00w735625392 (In Russ.)
- Instructions for calculating the capacity and carrying capacity of the Russian Railways railways. Approved by Order No. 128 of the Russian Railways dated March 4, 2022. Moscow: Russian Railways, 2022. Accessed: 05.06.2025. Available from: https://meganorm.ru/mega_doc/norm/vedomost_forma/0/instruktsiya_po_raschetu_propusknoy_i_provoznoy_sposobnostey.html?ysclid=md2qs81mfc665201854 (In Russ.)
- Ventzel ES. Theory of Probability. Moscow: Vysshaya Shkola; 1999. (In Russ.)
- Garbaruk VV, Pupysheva YuYu. Mathematical Statistics. Saint Petersburg: Petersburg State University of Railway Engineering; 2012. (In Russ.)
- Zvonarev SV. Fundamentals of Mathematical Modeling. Yekaterinburg: Ural University; 2019. (In Russ.)
- Chernyugov AD. Organization of non–stop overtaking on double–track lines. Bulletin of VNIIZHT. 1964;6:58–62. (In Russ.)
- Instructions for determining station and inter-train intervals" - approved by the order of JSC Russian Railways dated 12/30/2011 N 2864p. Accessed: 05.06.2025. Available from: https://meganorm.ru/mega_doc/norm/instrukciya/1/instruktsiya_po_opredeleniyu_stantsionnykh_i_mezhpoezdnykh.html?ysclid=md2rio6b7q836958944 (In Russ.)
- Levin DY. Optimization of train flows. Moscow: Transport; 1988. (In Russ.)
Supplementary files












