Use of uST transport systems in permafrost conditions
- Authors: Unitsky A.E.1, Tsyrlin M.I.1, Malakhov R.А.1, Petrovets A.N.1
-
Affiliations:
- Unitsky String Technologies, Inc.
- Issue: Vol 11, No 2 (2025)
- Pages: 202-218
- Section: Original studies
- URL: https://transsyst.ru/transj/article/view/683381
- DOI: https://doi.org/10.17816/transsyst683381
- ID: 683381
Cite item
Full Text
Abstract
BACKGROUND. The paper proposes to solve transportation problems in permafrost conditions using Unitsky String Technologies transport and infrastructure solutions. It is advised to use screw piles to build foundations for structures.
AIM. To ensure safe and efficient transportation of goods and passengers in permafrost areas using string rail systems.
METHODS. Screw piles for support legs of a string rail track structure of transport and infrastructure systems were calculated using Dlubal Rfem software.
RESULTS. The calculation showed high reliability of the proposed design of support foundations.
Keywords
Full Text
Введение
Около 11% поверхности Земли покрыто вечной мерзлотой, охватывающей общую площадь около 18 миллионов км2 [1]. Сюда входят большие площади США, Канады, Гренландии и России. Вечная мерзлота – это толщи земных пород, не оттаивающие в течение длинного периода времени – от нескольких лет до тысячелетий. Глубина зоны многолетней мерзлоты иногда превышает 1000 метров, грунтовые воды в этой зоне находятся в виде льда. Вечномерзлый грунт – это грунт, находящийся в мерзлом состоянии постоянно в течение трех и более лет. В России общая площадь районов распространения вечной мерзлоты равна примерно 10,7 млн км2, что составляет около 65% территории страны.
Значительными проблемами указанных территорий являются рельеф местности и климат. Так, автомобильные дороги часто пересекают реки, болота, озера, близ которых характерны обводненные грунты. Кроме того, зимой устойчивый снежный покров в отдельных районах вечной мерзлоты достигает 3−4 метров, для летнего периода характерны обильные осадки в виде дождей. Вода, содержащаяся в верхних слоях земли над мерзлым грунтом, замерзая, увеличивается в объеме до 10%, что приводит к вспучиванию земли. Вместе с поднятием грунта приподнимается все, что находится на поверхности земли или в ее верхних слоях. Влияние этих факторов определяет сезонный характер использования отдельных видов транспорта, удорожает строительство и эксплуатацию транспортной инфраструктуры, значительно увеличивает временные затраты и транспортные издержки в целом, усложняя задачи обеспечения территорий жизненно важной продукцией и снижая конкурентоспособность местных производителей товаров и услуг [2]. Как результат, транспортные издержки в ценах на товары в Арктической зоне России составляют до 60% вместо 10%, характерных для средних широт страны.
Еще одним важнейшим фактором, влияющим на работу Арктического транспортного комплекса, является изменение климата. Данные в оценочных докладах Росгидромета показали, что в Арктике в течение трех последних десятилетий температура повышалась значительнее, чем в остальных регионах земного шара. При этом предполагается дальнейшая деградация многолетней мерзлоты, сопровождающаяся увеличением мощности сезонно-талого слоя [3].
Также необходимо отметить, что в отдельных районах, таких как Республика Саха (Якутия), Магаданская область, Чукотский автономный округ в целом отсутствует опорная сеть автомагистралей.
Таким образом, совокупность указанных проблемных моментов требует разработки и внедрения в экономику Арктического региона новых решений в транспортной и связанной с ней отраслях, что будет более подробно рассмотрено в настоящей статье.
Традиционные способы устройства дорог в условиях крайнего севера
Основным способом устройства дорог являются насыпи с уложенным поверх бетонными плитами [4]. Как правило, конструкцию земляного полотна устраивают по принципу недопущения оттаивания вечной мерзлоты в основании, но это получается не всегда. Тепло, создаваемое солнцем и движущимся транспортом, нагревает почву, в результате чего система теряет монолитность и смещается в процессе подтаивания, то есть проседает. Кроме того, данные явления могут встречаться по причине глобального потепления. Например, дорожное полотно на трассе Уренгой – Тазовский (Ямало-Ненецкий автономный округ) пошло волнами уже на третий год после завершения строительства (Рис. 1).
Рис. 1. Дорога Уренгой – Тазовский (ЯНАО)
Fig. 1. Road Urengoy – Tazovsky (Yamalo-Nenets Autonomous Okrug)
Также в северных регионах распространен такой тип дорог, как «зимники» − временные автомобильные дороги, эксплуатация которых возможна только в зимних условиях, при минусовой температуре (Рис. 2). Для устройства зимника снег уплотняют и разгребают грейдерами, на реках намораживают ледовые переправы. Зимник может также проходить непосредственно по замерзшему льду рек и озер. Зимники широко распространены в Сибири и районах Крайнего Севера, в болотистых регионах, и там, где отсутствуют мосты через многочисленные ручьи и реки, и в других труднодоступных условиях. Часто зимники используются для доставки грузов и оборудования на нефте- и газопромыслы, а особенно часто − для вывоза тяжелого и труднодоступного леса.
Рис. 2. Автозимник Певек – Купол на Чукотке
Fig. 2. Winter road Pevek − Dome in Chukotka
Транспортные технологии uST в условиях арктической зоны
С учетом обозначенной проблематики одним из действенных решений, апробированных в Беларуси и ОАЭ, является применение транспортно-инфраструктурных решений Unitsky String Technologies (uST), основанных на технологии создания предварительно напряженных транспортных эстакад нового поколения, позволяющих осуществлять перевозку пассажиров и грузов в автоматизированном режиме по рельсо-струнной путевой структуре, размещенной на «втором уровне» (Рис. 3) [5].
Рис. 3. Струнный транспорт в зимнем ЭкоТехноПарке (на переднем плане – 14-местный юнибус, на втором плане 6-местный юникар). Марьина Горка, Беларусь, 2020 г.
Fig. 3. String transport in winter EcoTechnoPark (in the foreground is a 14-seater unibus, in the background is a 6-seater unicar). Maryina Gorka, Belarus, 2020
Указанная рельсо-струнная эстакада включает в себя анкерные опоры, промежуточные опоры, предварительно напряженную путевую структуру.
Эстакадное исполнение комплексов uST может позволить решать проблемы, связанные с заметанием дорог снегом и подвижностью почв, что особенно актуально для северных территорий России [6]. Например, поднятые над землей на высоту 10 метров и более струнные рельсы в постоянном режиме самоочищаются от снега и наледи стальными колесами движущегося транспорта. При этом обеспечивается высокий уровень безопасности за счет подъема подвижного состава на второй уровень, позволяя избежать столкновения с объектами, движущимися по поверхности земли.
Длина пролетов в рельсо-струнной эстакаде может достигать 2 км, что позволяет преодолевать без опор, по воздуху, широкие препятствия, связанные с геологическими и рельефными особенностями региона. При этом конструкция эстакады позволяет прокладывать маршрут по прямой (наиболее короткой траектории), в том числе над водной преградой или другим труднопроходимым участком местности, без использования дополнительных сооружений, что сокращает расстояние до пункта назначения, а также затраты (временные, эксплуатационные и др.).
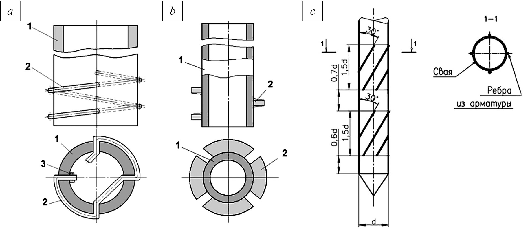
Наиболее многочисленными несущими элементами путевой структуры, непосредственно влияющими на безопасность всего комплекса, являются промежуточные опоры, которые, как правило, располагаются с шагом 50–250 м. В большинстве своем они представляют собой П- и Т-образные металлические и железобетонные конструкции, неотъемлемой частью которых являются фундаменты. В условиях арктического климата наиболее целесообразными будут являться свайные фундаменты [7]. При проектировании такого фундамента в зонах вечной мерзлоты следует учитывать влияние на устойчивость и эксплуатационную надежность сооружения таких факторов, как недостаточная несущая способность сваи, воздействие сил морозного пучения, потеря устойчивости при внезапном оттаивании грунтов, мерзлотно-геоморфологические явления, вызывающие деформации сооружений. Например, сваи для талых грунтов могут быть изготовлены и погружены с довольно значительным диаметром винтовой части (800 мм). Наиболее распространенная конструкция – одновитковый анкер (Рис. 4а) [8].
Рис. 4. Винтовые сваи: a – для талых грунтов; b – для вечномерзлых грунтов
Fig. 4. Screw piles: a – for thawed soils; b – for permafrost soils
Стоит отметить, что при устройстве фундаментов сооружений на вечномерзлых грунтах рекомендуется использовать узколопастные сваи, у которых диаметр лопасти не превышает диаметр ствола более чем в 1,5 раза, имеют больший угол наклона спирали, большее количество «витков» анкерной части, но существенно меньший диаметр анкера (Рис. 4b, 5) [8]. При этом существенно упрощается установка лопасти на ствол сваи. В этой связи лопасть винтовой сваи предлагается изготавливать из металлического троса, протянутого через радиальные отверстия, расположенные по винтовой линии, концы которого фиксируются после зажима хомутами, расположенными в полости сваи (Рис. 5а).
Рис. 5. Варианты устройства лопастей свай a – лопасть из троса, каната: 1 – ствол, 2 – трос, 3 – зажим; b – лопасть из листовой стали: 1– ствол, 2 – кольцевые элементы; c – лопасти из приваренной арматурной стали
Fig. 5. Options for constructing pile blades a – blade made of cable, rope: 1 – barrel, 2 – cable, 3 – clamp; b – blade made of sheet steel: 1 – barrel, 2 – ring elements; c – blades made of welded reinforcing steel
Анкерные элементы на теле сваи могут быть выполнены из листового проката (Рис. 5b), а также из иных прокатных профилей: уголков, арматуры (Рис. 5c) [8]. Это позволяет равномерно и максимально эффективно распределять грунты во время ввинчивания свай, одновременно уплотняя слои почв и обеспечивая высокую несущую способность. При этом диаметр троса, число оборотов вокруг ствола и расстояние между отверстиями определяются расчетным путем; завинчивание сваи производится ниже уровня возможного оттаивания вечномерзлой почвы.
Применение винтовых свай в рамках строительства транспортно-инфраструктурных решений uST позволяет существенно увеличить скорость производства работ, обеспечивая быстрый и надежный фундамент, повышает общую эффективность проекта.
Относительно других видов транспорта струнный транспорт [9, 10] имеет ряд преимуществ: не зависит от непогоды, сезона, времени суток, практически не занимает территорию, отвечает экологическим и эргономическим требованиям, обеспечивает высокую (до 150 км/ч и более) скорость передвижения, ровность и плавность хода, требуемый уровень комфорта, не нарушает естественный биоценоз, установившуюся схему миграции диких животных, не нарушает жизненный уклад местного населения, подходит для электрической тяги, беспилотного режима.
Расчет по несущей способности сваи в вечномерзлых грунтах
В работе выполнен расчет сваи под стойки промежуточной опоры (Рис. 6). Путевая структура принята полужесткая с массой транспортного средства 42 000 кг. Расчет несущей способности сваи производился согласно СП 25.13330.2012 «Основания и фундаменты на вечномерзлых грунтах» пункта 7.2 «Расчет оснований и фундаментов при использовании многолетнемерзлых грунтов по принципу I» [11] в программном NormCAD.
Рис. 6. Общий вид промежуточной опоры в рамках проводимого расчета
Fig. 6. General view of the intermediate support under analysis
Исходные данные для расчета сваи
В Табл. приведены исходные данные для расчета. Климатические данные принимались программным комплексом в зависимости от выбора района строительства по СП 131.13330.2020 «Строительная климатология» [12] для холодного и теплого периода.
Таблица. Исходные данные
Table. Initial data
Наименование | Значение данных |
1. Район строительства: Камчатская область, Усть-Камчатск | − продолжительность периода отрицательных температур в году по многолетним данным ; − продолжительность периода положительных температур в году по многолетним данным ; − средняя по многолетним данным температура воздуха за период отрицательных температур ; − средняя по многолетним данным температура воздуха за период положительных температур ; − среднегодовая температура наружного воздуха ; − амплитуда сезонных колебаний температуры наружного воздуха ; − среднеквадратическое отклонение средней годовой температуры наружного воздуха . |
2. Геологические данные: грунт – суглинок | − толщина слоя h1 = 10 м; − удельный вес g1 = 17,7 кН/м3; − удельный вес частиц грунта gs1 = 27,6 кН/м3; − коэффициент пористости e1 = 0,2; − показатель текучести IL1 = 0,1; − плотность талого грунта в сухом состоянии rd, th1 = 1800 кг/м3; − плотность мерзлого грунта в сухом состоянии rdf1 = 1600 кг/м3; − расчетная глубина сезонного оттаивания dth = 1,05 м; − льдистость мерзлого грунта за счет включений льда слоя 1ii1 = 0,15; − суммарная влажность мерзлого грунта Wtot1 = 0,2; − влажность грунта на границе текучести WL1 = 0,35; – влажность грунта на границе пластичности Wp1 = 0,25. |
3. Данные эксплуатации: назначение – фундамент промежуточной опоры | − длительность эксплуатации сооружения t = 150 лет; – коэффициент надежности по ответственности сооружения по ГОСТ 27751-88 γn = 1,2 (повышенный) [13]. |
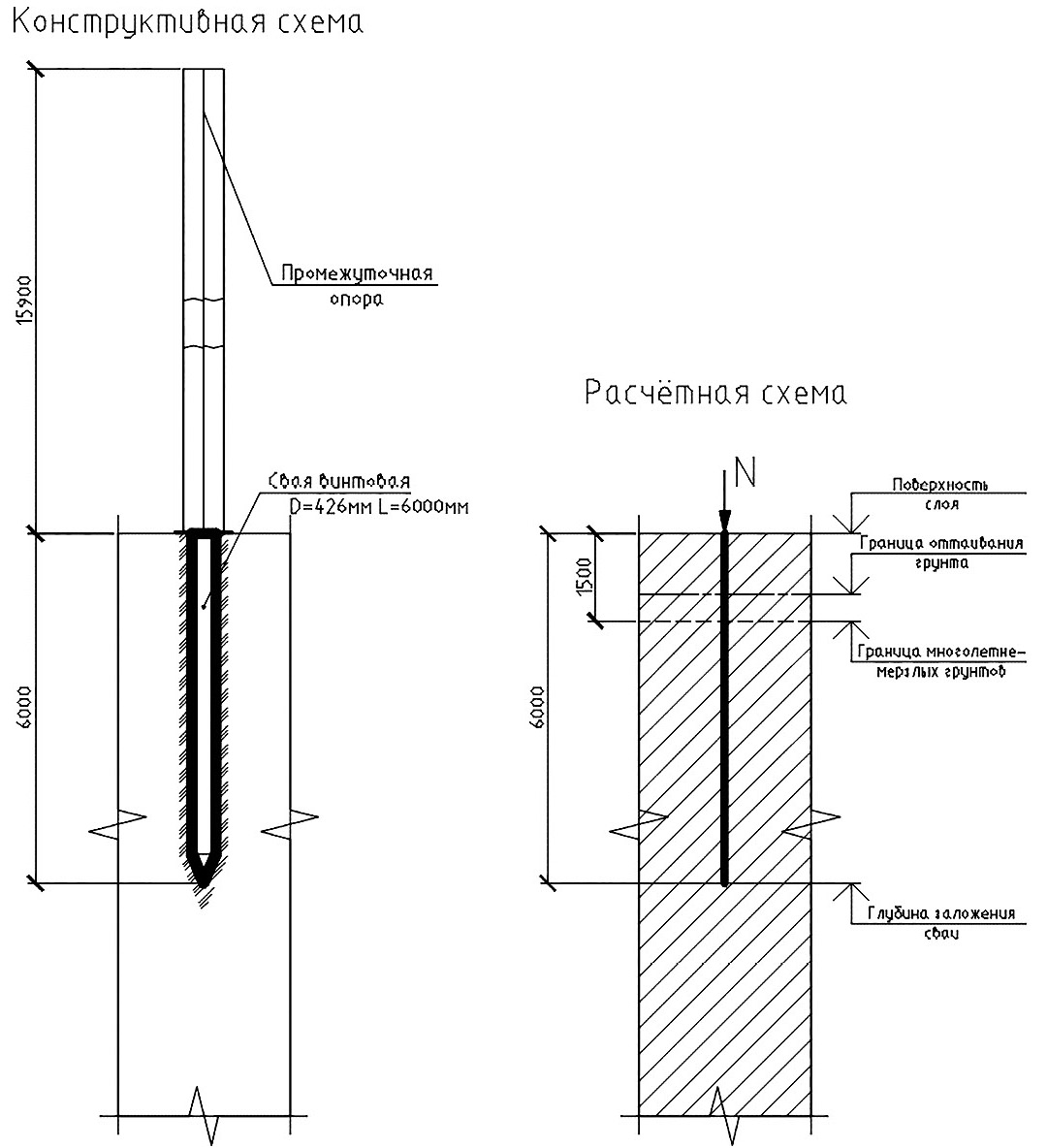
4. Параметры сваи | – стальная полая винтовая свая; – диаметр сваи D = 426 мм; – длина сваи L = 6000 мм; – заложение от уровня планировки L1 = 6000 мм; – вертикальная нагрузка на сваю N = 761,9 кН. |
На Рис. 7 представлена конструктивная и расчетная схема сваи.
Рис. 7. Конструктивная и расчетная схема сваи
Результаты расчета сваи физические и теплофизические характеристики многолетнемерзлых грунтов
В состав физических и теплофизических характеристик, определяемых для многолетнемерзлых грунтов, входят:
а) суммарная влажность мерзлого грунта – и влажность мерзлого грунта, расположенного между ледяными включениями – – определяются по ГОСТ 5180–2015 лабораторными испытаниями;
б) суммарная льдистость мерзлого грунта − , представляющая собой отношение содержащегося в мерзлом грунте объема льда к объему мерзлого грунта и льдистость грунта за счет видимых ледяных включений − , представляющая собой отношение содержащегося в мерзлом грунте объема видимых ледяных включений к объему мерзлого грунта − определяются по ГОСТ 25100–2020;
в) степень заполнения объема пор мерзлого грунта льдом и незамерзшей водой − , доли единицы;
г) температура начала замерзания грунта − ;
д) влажность мерзлого грунта за счет незамерзшей воды − , доли единицы;
е) теплофизические характеристики грунта (теплопроводность − l, Вт/(м· °С) и объемная теплоемкость − С, Дж/(кг·°С));
ж) теплота таяния льда (замерзания воды) в грунте − Lv;
з) степень засоленности − Dsai, %;
и) концентрация порового раствора − Сps, доли единицы;
к) объемная степень заторфованности − J, доли единицы;
л) степень заторфованности − G, доли единицы.
Расчет оснований по первой группе предельных состояний в программе Normcad по СП 25.13330.2012
Перед определением прочностных характеристик грунта необходимо определить температурные показатели и коэффициенты.
Расчетное значение температуры на глубине заложения фундамента, отсчитываемой от верхней грани поверхности многолетнемерзлого грунта [11]:
(1)
где – расчетная среднегодовая температура грунта основания; ;
– температура начала замерзания грунта; ;
– коэффициент; .
Расчетное значение температуры многолетнемерзлого грунта:
(2)
где – коэффициент; .
Условие прочности грунта при действии сжимающей нагрузки:
(3)
где – расчетная нагрузка на сваю, кН; – несущая способность грунта основания, кН; – коэффициент надежности по ответственности;
Несущая способность сваи на сжимающую нагрузку определялась по наименьшему значению:
(4)
(5)
(6)
где – коэффициент условия работы; ; − температурный коэффициент; ; – расчетное давление на мерзлый грунт под нижним концом сваи, табличное значение в зависимости от ; ; – площадь опирания сваи (без учета диаметра лопасти):
(7)
– расчетное сопротивление мерзлого грунта или грунтового раствора сдвигу по поверхности смерзания фундамента с учетом Te:
(8)
где − коэффициент, зависящий от вида поверхности смерзания; = 0,7 для стальных поверхностей; – табличное значение сопротивления сдвигу по поверхности смерзания; – повышающий коэффициент; принимаем .
– площадь поверхности смерзания слоя грунта с боковой поверхностью сваи:
(9)
где – глубина заложения сваи; ; – глубина многолетнемерзлых грунтов; , – расчетное значение сопротивления мерзлого грунта сдвигу по грунту с учетом :
(10)
где – коэффициент сдвига по грунту; ; − табличное значение сопротивления мерзлого грунта сдвига по грунту; ; – площадь поверхности сдвига; .
Подставляя в формулы (5) и (6) все исходные данные, определим наименьшее значение среди или :
Суммарная сжимающая нагрузка с учетом веса сваи:
,
где – вертикальная нагрузка от веса сваи
– условие выполняется.
Заключение
Таким образом, в работе представлены традиционные способы устройства дорог в условиях Крайнего Севера, имеющие целый ряд недостатков при перевозке грузов и пассажиров. Для решения представленных проблем предложено применение струнного транспорта uST «второго» уровня. При устройстве фундаментов промежуточных опор рельсо-струнной путевой структуры в зонах вечной мерзлоты рекомендовано использовать винтовые сваи. Анализ результатов расчета показал достаточную надежность предложенной конструкции фундаментов. Коэффициент надежности по ответственности сооружения − 1,2.
Авторы заявляют, что:
- У них нет конфликта интересов;
- Настоящая статья не содержит каких-либо исследований с участием людей в качестве объектов исследований.
The authors state that:
- They have no conflict of interest;
- This article does not contain any studies involving human subjects.
About the authors
Anatoli E. Unitsky
Unitsky String Technologies, Inc.
Email: a@unitsky.com
ORCID iD: 0000-0003-1574-3539
Chairman of the Board of Directors and General Designer
Belarus, MinskMichael I. Tsyrlin
Unitsky String Technologies, Inc.
Email: m.tsirlin@unitsky.com
ORCID iD: 0000-0002-2983-3255
SPIN-code: 9548-6321
Cand. Sci. (Engineering), Leading Specialist
Belarus, MinskRoman А. Malakhov
Unitsky String Technologies, Inc.
Email: r.malakhov@unitsky.com
ORCID iD: 0009-0006-4876-057X
head of the bureau
Belarus, MinskAlexander N. Petrovets
Unitsky String Technologies, Inc.
Author for correspondence.
Email: a.petrovets@unitsky.com
ORCID iD: 0009-0006-2901-183X
design engineer
Belarus, MinskReferences
- Melnikova ES, Grechishcheva SE, eds. Permafrost and development of oil and gas regions. Moscow: GEOS; 2002. (In Russ.)
- Egorova TP, Alekseev KI, Konstantinov NN. Problems of transport provision of the Arctic zone of Yakutia. Regional’naya ekonomika: teoriya i praktika. 2011(23):30-304 (In Russ.) EDN: TJHXFV
- The Third Assessment Report on Climate Change and its Consequences in the Russian Federation. St. Pytyrsburg: Naukoemkie tekhnologii; 2022. (In Russ.) EDN: COSHAP
- Soluyanova TV, Molokov VS, Volkova EV. Peculiarities of construction and operation of motorways in the conditions of the Far North. Vestnik nauki. 2023;(3):276-283 (In Russ.)
- Yunitskii AE. Innovative transport and infrastructure technologies. Album. Minsk: Strunnye tekhnologii; 2021. (In Russ.) doi: 10.20291/2311-164X-2021-4-16-20
- Yunitskii AE, Artyushevskij SV. Innovative vector of development of transport infrastructure of the Russian Arctic region using Yunicky’s structural technologies. In: Youth science in the 21st century: traditions, innovations, development vectors: materials of the VII International scientific research conference. April 25-26, 2024. Samara-Orenburg: SamGUPS, OrIPS – filial SamGUPS, 2024;361-366. (In Russ.) EDN: BRGHXI
- Turdagina YuP. Vintovye svai v echnomorzlyh goruntah. In: Youth and science: collection of materials from the Anniversary All-Russian scientific and technical conference of students, postgraduates and young scientists with international participation, commemorating the 80th anniversary of education in Krasnoyarsk Krai. Krasnoyarsk: Sibirskij federal’nyj un-t; 2014. EDN: TBJTND
- Zhelezkov VN. Development of the normative document “Design and arrangement of foundations for screw piles Bulletin of civil engineers”. Bulletin of civil engineers. 2008;(2):42-46.
- Yunitskii AE. String Transport Systems: On Earth and in Space. Silakrogs: PNB print; 2019. (In Russ.)
- Yunitskii AE, Tsyrlin MI. Environmental aspects of string transport. Innovacionnyj transport. 2020;(2):7-9. (In Russ.) EDN: YYQLVX doi: 10.20291/2311-164X-2020-2-7-9
- SP 25.13330.2012. Soil bases and foundations on permafrost soils. Moscow: Standards; 2012.
- SP 131.13330.2020. Stroitel’naya klimatologiya. Moscow; 2020. (In Russ.)
- GOST 27751-88. Reliability of constructions and foundations. Principal rules of the calculations. Moscow: Standartinform; 2007. (In Russ.)
Supplementary files











