Эффективность ферромагнитного экранирования сверхпроводящих катушек высокоскоростных магнитолевитационных экипажей
- Авторы: Ватаев А.С.1, Дедова О.А.2, Никитин В.В.1
-
Учреждения:
- Петербургский государственный университет путей сообщения Императора Александра I
- Рязанский филиал Петербургского государственного университета путей сообщения Императора Александра I
- Выпуск: Том 9, № 2 (2023)
- Страницы: 19-32
- Раздел: Оригинальные статьи
- URL: https://transsyst.ru/transj/article/view/321510
- DOI: https://doi.org/10.17816/transsyst20239219-32
- ID: 321510
Цитировать
Полный текст
Аннотация
Обоснование: Магнитолевитационный транспорт с комбинированными системами тяги, подвеса и направления на основе сверхпроводящих катушек (СПК) позволяет достигать скорости движения до 500-600 км/ч при весьма существенном (до 150–200 мм) воздушном зазоре, что является важным фактором обеспечения безопасности высокоскоростных перевозок. Однако СПК являются источником сильных внешних магнитных полей, которые в условиях ограниченных габаритов экипажа могут оказывать вредное влияние как на пассажиров, так и на бортовое вспомогательное оборудование.
Цель: анализ внешних магнитных полей СПК систем тяги, подвеса и направления магнитолевитационных экипажей и эффективности ферромагнитных экранов как средства обеспечения электромагнитной безопасности пассажиров и электромагнитной совместимости СПК с прочим бортовым оборудованием.
Материалы и методы: для достижения поставленной цели использованы методы аналитического и численного моделирования магнитных полей СПК с применением современных программных пакетов. В качестве прототипа комбинированной магнитной системы тяги, подвеса и направления принята система магнитолевитационного экипажа MLX-L0, проходящего опытно-коммерческую эксплуатацию на полигоне Яманаши (Япония).
Результаты: показано, что величина внешних магнитных полей СПК систем тяги подвеса и направления в пассажирском салоне экипажа-прототипа превышает предельно допустимые уровни, установленные отечественными и зарубежными нормативными документами, как без экранирования, так и при пассивном экранировании плоскими стальными листами.
Заключение: пассивное экранирование СПК стальными листами, в том числе многослойными, при заданных габаритах экипажа не обеспечивает требуемого снижения уровня внешних магнитных полей.
Полный текст
ВВЕДЕНИЕ
Транспортные системы с экипажами на электродинамическом подвесе и синхронным тяговым приводом позволяют обеспечивать скорости движения до 500–600 км/ч при зазоре в системе подвеса порядка 150–200 мм. Такое значение зазора с одной стороны является фактором, повышающим устойчивость транспортной системы к неблагоприятным погодным условиям, в частности, снежным заносам, и повышающим безопасность движения, а с другой стороны требует применения на экипаже сверхпроводящих катушек (СПК) с большими намагничивающими силами, способных создавать достаточно сильные магнитные поля, чтобы обеспечивать электромагнитное взаимодействие с путевыми катушками систем тяги и подвеса. Сильные внешние магнитные поля, рассеиваемые бортовыми СПК в окружающем пространстве, определяют важность проблемы их электромагнитной совместимости с прочим бортовым силовым и информационным электрооборудованием и электромагнитной безопасности пассажиров в салоне экипажа.
В настоящее время на полигоне протяженностью 42,8 км в префектуре Яманаши, Япония (Yamanashi Maglev Test Line), в опытно-коммерческой эксплуатации находятся высокоскоростные экипажи L0 компании JR-Central, оборудованные комбинированной системой синхронной тяги, электродинамического подвеса и направления на основе бортовых СПК, разработанной под руководством Railway Technical Research Institute (RTRI). В марте 2015 года семивагонный состав из экипажей, спроектированных на крейсерскую скорость 550 км/ч, установил рекорд скорости – 603 км/ч [1]. Планируется, что данный опытный участок станет частью высокоскоростной магистрали Chuo Shinkansen, которая к 2027 году должна связать города Токио и Нагоя. Существуют проекты магнитолевитационного транспорта, в которых движение экипажа предполагается осуществлять в среде технического вакуума; в таких системах можно достичь скоростей движения до 1000 км/ч [2–5].
При освоении технологии массового производства высокотемпературных сверхпроводников и снижении их рыночной стоимости магнитолевитационные транспортные системы с электродинамическим подвесом и линейным тяговым приводом на основе СПК могут стать конкурентоспособными по сравнению с другими видами транспорта и найти применение для перевозок пассажиров и грузов на расстояния до 500–1000 км [6].
МАГНИТНЫЕ СИСТЕМЫ ЛИНЕЙНОГО ТЯГОВОГО ЭЛЕКТРОПРИВОДА, ЭЛЕКТРОДИНАМИЧЕСКОГО ПОДВЕСА И НАПРАВЛЕНИЯ ВЫСОКОСКОРОСТНЫХ ЭКИПАЖЕЙ
В настоящее время в транспортных системах, обеспечивающих перевозки со скоростями до 450-500 км/ч, нашли применение линейные синхронные двигатели (ЛСД) с длинным статором (трехфазной обмоткой, размещаемой на путевом полотне) и коротким индуктором, размещаемом на экипаже. В системе Transrapid используются ЛСД с возбуждением от обычных электромагнитов; в системе MLU-MLX-L0 – ЛСД с возбуждением от сверхпроводящих магнитов (СПК) [7].
СПК, применяемые в системах тяги, подвеса и направления, обеспечивают сравнительно высокие значения магнитной индукции, что позволяет создавать транспортные системы с относительно большим значением левитационного зазора и отсутствием массивных ферромагнитных элементов. Для упрощения конструкции магнитной системы и криогенного обеспечения признано целесообразным создавать комбинированные системы тяги, подвеса и направления, т.е. одновременно использовать магнитное поле СПК для создания тягового усилия, сил левитации и боковой стабилизации. Из множества возможных вариантов конструктивного исполнения совмещенных систем тяги, подвеса и направления до полномасштабного исполнения и ввода в эксплуатацию доведена система с вертикальным расположением катушек [8–10].
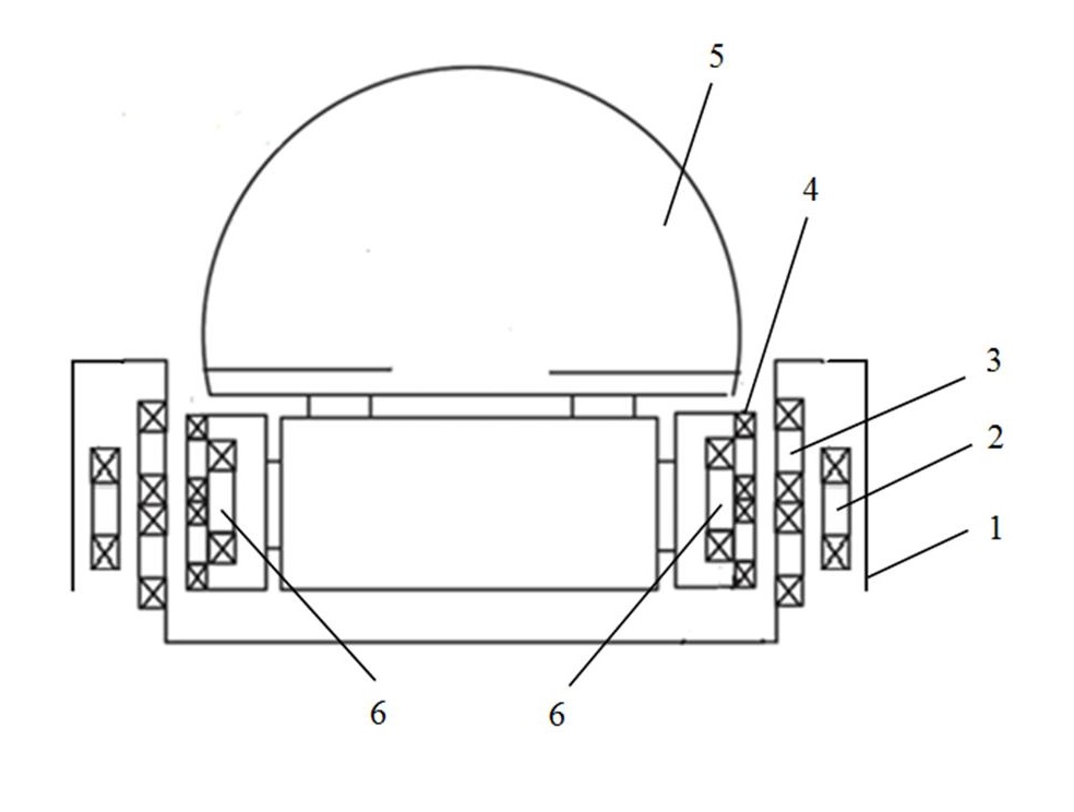
В настоящее время в опытно-коммерческой эксплуатации на полигоне в префектуре Яманаши (Япония) находятся высокоскоростные экипажи серии L0 с комбинированной системой синхронной тяги, электродинамического подвеса и направления (Рис. 1). На путевом полотне размещаются трехфазные катушки статора линейного синхронного двигателя, создающие бегущее магнитное поле, а также 8-образные катушки левитации и боковой стабилизации. На экипаже размещаются сверхпроводящие катушки, которые являются источником магнитного поля как для системы тяги, так и для системы подвеса и боковой стабилизации. Кроме этого, на экипаже размещаются катушки линейного генератора, который питает бортовые потребители энергии: систему охлаждения сверхпроводящих магнитов, систему кондиционирования, освещения и т.п.
Таблица 1. Технические данные сверхпроводящей катушки системы тяги, подвеса и направления [8, 9].
Параметр | Величина |
Полюсное деление, мм | 1350 |
Длина катушки, мм | 1070 |
Высота катушки, мм | 500 |
Намагничивающая сила, кА | 700 |
Поперечное расстояние между катушками, мм | 2980 |
Рис. 1. Схематичный разрез магнитной системы: 1 – путевое полотно; 2 – путевая катушка линейного синхронного двигателя; 3 – путевые катушки системы левитации и боковой стабилизации; 4 – бортовые катушки линейного генератора; 5 – экипаж; 6 – бортовые сверхпроводящие катушки
Основным источником внешних магнитных полей, воздействующих на пассажиров и внутрибортовое оборудование экипажа, являются СПК, намагничивающая сила которых на несколько порядков превышает намагничивающую силу остальных катушек системы. По этой причине на начальном этапе анализа в качестве источника поля будут учитываться только СПК. Магнитная система экипажа, представленная на Рис. 1, принята в качестве прототипа для исследования внешних магнитных полей; на ее основе составлена расчетная схема, приведенная на Рис. 2. СПК имеют трековую форму; в прямоугольной декартовой системе координат (X, Y, Z) рассматривается поперечное сечение катушек вертикальной плоскостью и создаваемое ими плоскопараллельное магнитное поле, позволяющее рассматривать задачу расчета в двухмерной постановке. Направление координатных осей Y, Z показано на рисунке, ось X направлена перпендикулярно плоскости рисунка (вдоль направления движения экипажа).
Рис. 2. Расчетная схема магнитной системы СПК
В расчетной схеме приняты следующие размеры: 2Z0=2980 мм; 2Y0=500 мм; ZS=100 мм; YS=100 мм; YQ=600 мм. Намагничивающая сила СПК wI=700 кА.
ВНЕШНИЕ ПОЛЯ СИСТЕМЫ СВЕРХПРОВОДЯЩИХ КАТУШЕК В ОДНОРОДНОЙ НЕМАГНИТНОЙ СРЕДЕ
Внешнее магнитное поле экипажных СПК в немагнитной однородной среде (в отсутствие ферромагнитных экранов) может быть рассчитано на основании принципа суперпозиции как поле совокупности тонких токовых нитей, которыми может быть представлено каждое из поперечных сечений, или как поле совокупности шин прямоугольного сечения [11–13].
Наиболее простые инженерные соотношения получаются при представлении поперечного сечения СПК в виде совокупности тонких токовых нитей. В этом случае компоненты вектора магнитной индукции в расчетной точке Q определяются выражениями:
где μ0 – магнитная постоянная;
YQ, ZQ – координаты расчетной точки Q;
Yij, Zij – координаты эквивалентной токовой нити;
(wI)ij – полный ток эквивалентной нити;
M, N – число эквивалентных токовых нитей по осям Y и Z соответственно.
При разбиении поперечного сечения СПК на совокупность токовых нитей следует стремиться к тому, чтобы отношение M/N приближалось к отношению соответствующих сторон поперечного сечения катушки. При расчете индукции на существенном удалении от источников поля достаточную точность можно получить уже при величинах MN=1; 2 или 4.
На Рис. 3 представлено распределение модуля индукции магнитного поля вдоль оси Z при различных значениях координат YQ расчетных точек.
Рис. 3. Распределение модуля магнитной индукции внешнего поля СПК по координате ZQ при различных значениях YQ: 1 – YQ=0,5 м; 2 – YQ=0,6 м; 3 – YQ=0,7 м
Уровню пола пассажирского салона соответствует диапазон значений YQ= 0,55…0,6 м; половине ширины пассажирского салона – диапазон значений ZQ= 0…1,45 м. Расчеты показывают, что на уровне пола пассажирского салона индукция внешнего магнитного поля СПК без учета ферромагнитных экранов составляет В = 30…225 мТл, что существенно превышает предельно допустимый уровень, установленный отечественными и зарубежными нормативными документами. Данное обстоятельство определяет необходимость защиты пассажиров и оборудования от внешних полей СПК.
МАГНИТНОЕ ПОЛЕ СИСТЕМЫ СВЕРХПРОВОДЯЩИХ КАТУШЕК С УЧЕТОМ ФЕРРОМАГНИТНЫХ ЭКРАНОВ
Защиту внутреннего, весьма ограниченного, пространства экипажа, в котором размещаются пассажиры и оборудование, от внешних магнитных полей СПК системы тяги, подвеса и направления можно осуществлять с помощью пассивных и активных экранов. В первом случае ослабление магнитного поля в экранируемой области достигается за счет физических свойств экранирующей оболочки: высокой магнитной проницаемости стали или диамагнитных свойств сверхпроводникового материала экрана. Принцип активного экранирования основан на создании в заданной области пространства вторичного экранирующего магнитного поля с помощью катушек, обтекаемых током, или постоянных магнитов. При этом вторичное поле направлено встречно полю СПК и частично или полностью его ослабляет [14, 15].
В настоящей статье рассмотрено экранирующее действие пассивных ферромагнитных экранов, как наиболее простого, дешевого и технологичного способа обеспечения защиты пассажиров и оборудования внутри экипажа. Рассматриваются экраны следующих форм: плоский однослойный (в виде стального листа), плоский двухслойный, полуцилиндрический и экран в форме сегмента цилиндра (Рис. 4). Для всех вариантов исполнения толщина ферромагнитного экрана принята 10 мм; расчет магнитного поля ведется в одних и тех же точках экранируемой области пространства на расстоянии YQ=600 мм от начала координат (см. Рис. 2).
Рис. 4. Формы ферромагнитных экранов: 1 – плоский; 2 – плоский двухслойный; 3 – полуцилиндрический; 4 – сегмент цилиндра.
Характеристика намагничивания стали представляет собой нелинейную зависимость В(Н), поэтому расчет магнитного поля в области за ферромагнитным экраном необходимо вести с использованием программных пакетов расчета магнитных полей в неоднородных средах.
Эффективность экранирования обычно оценивается по величине коэффициента экранирования, который представляет собой отношение магнитной индукции в заданной точке экранируемого пространства без учета магнитного экрана к магнитной индукции в той же точке с учетом защитного действия экрана. Недостатком такого способа является то, что эта оценка – локальная, отнесенная к конкретной точке пространства. Другим способом, который позволяет дать общую оценку свойств экранирующей конструкции во всем заданном объеме, является коэффициент экранирования, определяемый как отношение энергий магнитного поля в объеме без учета экранирующей оболочки и с учетом ее защитного действия [11, 15].
На Рис. 5 представлена пространственная картина распределения магнитного поля для плоского двухслойного, полуцилиндрического экранов и экрана в форме сегмента цилиндра. На Рис. 6 даны кривые распределения модуля магнитной индукции вдоль горизонтальной линии с координатой YQ=600 мм, соответствующей уровню пола пассажирского салона.
Рис. 5. Картина распределения магнитного поля в пространстве с учетом нелинейных свойств ферромагнитных экранов: плоского двухслойного (а), полуцилиндрического (б) и в форме сегмента цилиндра (в)
Рис. 6. Распределение индукции магнитного поля по координате YQ=600 мм: 1 – без экранов и с учетом полуцилиндрического экрана; 2 – с экраном в форме сегмента цилиндра; 3 – с плоским однослойным экраном; 4 – с плоским двухслойным экраном
ЗАКЛЮЧЕНИЕ
Результаты расчетов показывают, что в отсутствие экранов внешние магнитные поля СПК системы тяги, подвеса и направления в зоне размещения пассажиров и бортового электрооборудования весьма существенны и на уровне пола пассажирского салона вблизи боковой стенки достигают значения 0,245 Тл.
Экранирование внешнего поля СПК с помощью ферромагнитных оболочек в форме полуцилиндра не дает уменьшения индукции в контрольных точках. Наиболее эффективным будет двухслойный ферромагнитный экран, который обеспечит снижение индукции в 1,6…1,7 раза. Однако такой уровень индукции магнитного поля в экранируемой области (до 0,15 Тл) также превышает предельно допустимые уровни, установленные отечественными и зарубежными нормативными документами. Дальнейшего снижения уровня магнитного поля в заданной области можно добиться применением плоских трехслойных ферромагнитных экранов, однако при этом возрастет масса экипажа и необходимая намагничивающая сила СПК системы тяги и подвеса, а значит и индукция внешнего магнитного поля.
Данное обстоятельство свидетельствует о недостаточной эффективности пассивного ферромагнитного экранирования как средства обеспечения электромагнитной безопасности пассажиров и электромагнитной совместимости СПК и бортового вспомогательного оборудования высокоскоростных экипажей.
Авторы заявляют, что:
- У них нет конфликта интересов.
- Настоящая статья не содержит каких-либо исследований с участием людей в качестве объектов исследований.
Об авторах
Андрей Сергеевич Ватаев
Петербургский государственный университет путей сообщения Императора Александра I
Автор, ответственный за переписку.
Email: avataev@yandex.ru
ORCID iD: 0000-0002-9285-709X
SPIN-код: 2832-4481
кандидат технических наук, доцент
Россия, Санкт-ПетербургОльга Андреевна Дедова
Рязанский филиал Петербургского государственного университета путей сообщения Императора Александра I
Email: dedova@pgups.ru
ORCID iD: 0009-0001-7403-8154
SPIN-код: 9447-2830
Россия, Рязань
Виктор Валерьевич Никитин
Петербургский государственный университет путей сообщения Императора Александра I
Email: pgups.emks@mail.ru
ORCID iD: 0000-0002-5699-0424
SPIN-код: 6864-5678
доктор технических наук, профессор
Россия, Санкт-ПетербургСписок литературы
- Japan's maglev train breaks world speed record with 600 km/h test run. The Guardian. United Kingdom: Guardian News and Media Limited. 21 April 2015. Retrieved 21 April 2015. [cited 2023 Jun 9]. Available from: https://www.theguardian.com/world/2015/apr/21/japans-maglev-train-notches-up-new-world-speed-record-in-test-run
- Hyung WL, Kim KC. Review of Maglev train technologies. IEEE Transactions on Magnetics 2006;42(7):1917-1925. doi: 10.1109/TMAG.2006.875842
- Ким К.К., Карпова И.М. К вопросу разработки систем подвеса на постоянных магнитах для транспортных систем // Инновационные транспортные системы и технологии. – 2022, – Т. 8. – № 4 – С. 91–106. [Kim KK, Karpova IM. Оn the issue of the development of permanent magnet suspension systems for transport systems. Modern Transportation Systems and Technologies. 2022;8(4):91-106. (In Russ.)]. doi: 10.17816/transsyst20228491-106
- Ким К.И., Ким К.К., Вешкин В.В. Магнитное поле и силы в гибридной системе левитации высокоскоростного транспорта // Электричество. – 2021. – № 6. – С. 44-50. [Kim KI, Kim KK, Vechkin VV. Magnetic Field and Forces in a Hybrid Levitation System for a HighSpeed Vehicle. Jelektrichestvo. 2021;6:44-50. (In Russ.)]. Доступно по: https://doi.org/10.24160/0013-5380-2021-6-44-50 Ссылка активна на: 05.03.2023.
- Антонов Ю.Ф., Ли В. Сверхзвуковой наземный транспорт в разреженной среде ограниченного пространства: прорывное или тупиковое направление // Транспортные системы и технологии. – 2017. – Т. 3. – № 1. – С. 35–46. [Antonov YF, Li W. Supersonic land transport in the disturbed environment of the limited space: breakthrough or direct direction. Transportation Systems and Technology. 2017;3(1):35-46. (In Russ.)]. doi: 10.17816/transsyst20173135-46
- Антонов Ю.Ф. Устройство левитации и боковой стабилизации на базе ленточного высокотемпературного сверхпроводника второго поколения // Транспортные системы и технологии. – 2019. – Т. 5. – №4. – С. 115-123. [Antonov YF. Levitation and Lateral Stabilization Device Based on a Second-Generation High-Temperature Superconductor. Transportation Systems and Technology. 2019;5(4):115-123. (In Russ.)]. doi: 10.17816/transsyst201954115-123
- Зайцев А.А., Антонов Ю.Ф. Магнитолевитационная транспортная технология / под ред. В.А. Гапановича. – М.: ФИЗМАТЛИТ, 2014. – 476 с. [ZaitsevAA, Antonov YuF. Magnitolevitatsionnaya transportnaya tekhnologiya. Gapanovich VA, editor. Moscow: FIZMATLIT; 2014. 476 p. (In Russ.)]. Доступно по: https://avidreaders.ru/read-book/magnitolevitacionnaya-transportnaya-tehnologiya.html Ссылка активна на: 05.03.2023.
- Boldea I. Linear Electric Machines, Drives and MAGLEV’s Handbook. CRC Press; 2013. 635 p. [cited 2023 Jun 9]. Available from: https://www.researchgate.net/publication/260711644_Linear_Electric_Machines_Drives_and_MAGLEVs_Handbook_Boldea_I_2013_Book_News
- Han H-S, Kim DS. Magnetic Levitation. Maglev Technology and Applications. Springer; 2016. 246 p. [cited 2023 Jun 9]. Available from: https://link.springer.com/book/10.1007/978-94-017-7524-3
- Kim K.K., Khismatulin M.I., Anisimov G.N. Problem of increasing the efficiency of high-speed transport system with magnetic suspension of vehicle and propulsion linear superconductive synchronous motor // Транспортда ресурс тежамкор технологиялар мавзусидаги хорижий олимлар иштирокидаги республика илмий – техника анжумани илмий: Научные труды республиканской научно – технической конференции с участием зарубежных ученых, Ташкент, 18–19 декабря 2021 года / Министерство транспорта Республики Узбекистан Ташкентский государственный транспортный университет. – Ташкент: Ташкентский государственный транспортный университет, 2021. – C. 130–135. [Kim KK, Khismatulin MI, Anisimov GN. Problem of Increasing the Efficiency of High-Speed Transport System with Magnetic Suspension of Vehicle and Propulsion Linear Superconductive Synchronous Motor. In: Resursosberegajushhie tehnologii na transporte. Nauchnye trudy respublikanskoj nauchno – tehnicheskoj konferencii s uchastiem zarubezhnyh uchenyh. Ministerstvo transporta Respubliki Uzbekistan Tashkentskij gosudarstvennyj transportnyj universitet. Transportda resurs tezhamkor tehnologijalar mavzusidagi horizhij olimlar ishtirokidagi respublika ilmij – tehnika anzhumani ilmij : Nauchnye trudy respublikanskoj nauchno – tehnicheskoj konferencii s uchastiem zarubezhnyh uchenyh, Tashkent, 18–19 dekabrja 2021 goda / Ministerstvo transporta Respubliki Uzbekistan Tashkentskij gosudarstvennyj transportnyj universitet. Tashkent: Tashkentskij gosudarstvennyj transportnyj universite; 2021:130-135. (In Russ.)].
- Аполонский С.М., Горский А.Н. Расчеты электромагнитных полей: монография / под ред. А. Н. Горского. – Москва: Маршрут, 2006. – 986 с. [Apolonskij SM, Gorskij AN. Raschety jelektromagnitnyh polej: monograf. Gorskij A.N. editor. Moskva: Marshrut; 2006. 986 p. (In Russ.)]. Ссылка активна на: 07.05.2023. Доступно по: https://search.rsl.ru/ru/record/01003178933
- Бинс К., Лауренсон П. Анализ и расчет электрических и магнитных полей. – М.: Энергия, 1970. – 376 с. [Binns K, Lawrenson P. Analysis and computation of electric and magnetic field problems. Moscow: Jenergija; 1970. (In Russ.)]. Ссылка активна на: 07.05.2023. Доступно по: https://djvu.online/file/UdvfzQUCysVpi
- Штафль М. Электродинамические задачи в электрических машинах и трансформаторах / Пер. с чеш. В.И. Васина. – М.;Л.: Энергия, 1966. – 200 с. [Shtafl' M. Jelektrodinamicheskie zadachi v jelektricheskih mashinah i transformatorah / Per. s chesh. V.I. Vasina. Moscow; Leningrad: Jenergija, 1966. (In Russ.)]. Ссылка активна на: 07.05.2023. Доступно по: https://search.rsl.ru/ru/record/01006495988
- Туровский Я. Электромагнитные расчеты элементов электрических машин. – М.: Энергоатомиздат, 1986. – 198 с. [Turovskij Ja. Jelektromagnitnye raschety jelementov jelektricheskih mashin. Moscow: Jenergoatomizdat; 1986. (In Russ)]. Ссылка активна на: 07.05.2023. Доступно по: http://zodchii.ws/books/info-472.html
- Аполлонский С.М., Горский А.Н., Никитин В.В. Проблемы электромагнитной без опасности в современных электроэнергетических системах железнодорожного транспорта // Электроника и электрооборудование транспорта. – 2017. – № 2. – C. 43–47. [Apollonskij SM, Gorskij AN, Nikitin VV. Рroblems of electromagnetic safety in modern electric power rail system. Jelektronika i jelektrooborudovanie transporta. 2017;2:43-47. (In Russ.)]. Доступно по: https://elibrary.ru/yktzsx Ссылка активна на: 07.05.2023.
Дополнительные файлы










