Prerequisites for the creation of a high-speed container transport system
- Authors: Kireev A.V.1, Kozhemyaka N.M.1, Kononov G.N.1
-
Affiliations:
- Closed Joint-Stock Co. “Scientific-Technical Centre PRIVOD-N”
- Issue: Vol 3, No 4 (2017)
- Pages: 5-41
- Section: Review
- URL: https://journals.eco-vector.com/transsyst/article/view/8017
- DOI: https://doi.org/10.17816/transsyst2017345-41
- ID: 8017
Cite item
Abstract
The new scope of application for vehicles equipped with magnetic suspension is the fright container transportation. In order to realise the transit potential of the country, the increase in mean speed of the container trains is required.
Objective. The purpose of the work is to explore the possibilities to develop the high-speed transport system equipped with magnetic suspension for container transportation along Eurasian land bridge.
Methods. The following methods and analysis have been used as research instruments: case study, computer modeling, transport geography and technical and economic analysis.
Results. The market analysis results of the transit container transportation have shown that the major challenge for Russian transit development is the constrained traffic capacity of the existing transport corridors. The drastic solution of the problem can be the construction of a new high-speed transport system. The following factors determining the conditions for the creation of the new transport system have been identified: the use of the Azov-Black sea basin transportation facilities, provision of the accessibility of the northern areas; the development of technical solutions ensuring the design of the transport system with low cost infrastructure. The combined traction levitation system has been developed based on the extremely simple design of the linear switched reluctance motor. The experimental researches of the full-functional physical model of the transport platform have been performed. The assessment of investment project efficiency has shown that despite large start-up investment in the track infrastructure, the project has positive economic effect.
Practical importance. The computer model of the combined traction levitation system based on the linear switched reluctance motor has been designed.
The concept of the new transport system construction has been introduced taking into account the characteristics of the supposed operating test sites in poorly developed areas. The high-speed route has been proposed connecting the Azov-Black sea basin with the Pacific coastline and completely passing through the territories of Russia including some northern regions. The transit potential assessment has shown that due to the transit time reduction it is possible to attract the container freights with traffic volume of 1.52 million in twenty-pounds equivalent.
Full Text
Introduction
The general tendency for the development of the world transport system is the acceleration of the transport process, achieved by the formation of transport corridors, improvement of the transport and logistics structure of transportation, and the increase of speed transport modes [1].
By 2000, workable technical solutions for high-speed magnetically suspended transport had been formed. In particular, the first commercial line in Japan Tobu Kyuryo Line [2], the high-speed transport system on the magnetic suspension Transrapid in Shanghai [3], the UMT transport system in South Korea [4].
In the beginning, once high-speed modes of transport emerged, the developers already showed aspiration for demonstration of the new technology capabilities. This stage is characterised by the desire to set speed records. As the main criterion the route speed was put forward, leaving in shadow the economic and social effects.
Attempting to give the projects competitive status, the developers found out that there were only two transport corridors where recoupment of magnetic levitation transport systems (MLTS) could be ensured. These are ones in France and Japan, running through densely populated areas with heavy traffic. These corridors were established before the dominance of road transport.
The active search for local transport corridors that could ensure recoupment of the system is being observed. Many MLTS implementation projects are known now [5] in the USA, Great Britain, Germany, Japan, China, Iran, India and others. The companies for maglev implementation emerged: The Northeast Maglev (TNEM) – American company which cooperates with the Japanese Central Japan Railway Company (JR Central) in implementation of SCMAGLEV in the USA, the American company US − Japan MAGLEV working at implementation of the Japanese superconductor-based maglev system of the company JRC (SCMAGLEV) [6].
Thus, it is obvious that the world practice has not broadly deployed this kind of ground transport yet, due to high construction expenditure costs and lack of intensive stable passenger traffic.
The development of high-temperature superconductor technology gave birth to new vision of MLTS. That was reflected in the book by James Powell “The Fight for Maglev: Making America the World Leader in 21st Century Transport” [7]. In the book, the freight high-temperature superconductor-based MLTS has been proposed. The most attractive type of freight transportation is conveyor container transport [8].
Earlier, in the USA the work of construction of transport freight platform with magnetic suspension had been conducted by General Atomics [9]. The transport was intended for conveyor transportation.
At present, Russia is developing maglev conveyor line for processing container goods in Ust-Luga Port Terminal1. The project is being realised on the basis of new maglev technology “MagTranSiti” [10].
New application of MTLS in the sphere of freight transportation requires reconsideration of concept of its construction taking into account the properties of the area intended for operation.
The railway transport development strategy up to 2030 has special chapter for transit container transportation [11]. The territory of the Russian Federation is a natural bridge connecting Europe and Asia-Pacific Region states. For realisation of transit potential of the country, the task is set to increase container trains speed. Now, the development of transport area is conducted at the expense of liquidation of gaps and “narrow sections” by virtue of reconstruction and construction of separate sections of transport network. The main project is considered to be construction of high-speed railway for accelerated delivery of containers from China, Central Asia and Eastern Europe to Europe – the Trans-Eurasia Container Mainline. This mainline will enable organisation of container transportation with the speed of 140-160 km/h, ensure release of carrying capacity of Russia Far East railways.
Meanwhile, the idea of establishment of Eurasian Land Bridge deploying magnetic suspension technology [12]. However, until now no researches had been carried out to access capabilities of MLTS-based container transportation on the Eurasian Land Bridge.
The purpose of the work consists in studying the possibility of creating high-speed transport system with magnetic suspension for container transportation on Eurasian Land Bridge.
1. Setting task
The basic tasks that were solved during the research are as follows:
- assessment of container transportation market situation;
- identification of factors that determine the conditions for the creation of a new transport system;
- forecasting the volumes of container transit traffic of a new high-speed transport system;
- identification of factors determining the route of the line;
- research of technical solutions ensuring realisation of the project;
- assessment of the project efficiency.
2. Materials and methods of research
The main information sources used for the work are: the Russian Federation’s Transport Strategy up to 20301, sea transport review (regular publication issued by UNCTAD)2, the UN Economic Commission for Europe (UNECE) on the Euro-Asian Transport Links (EATL)3, materials of UNECE Inland Transport Committee4, materials of the Coordinating Council on
Trans-Siberian Transportation (CCTT5), information provided by container transportation operators China-Europe: JSC “RZD”6, Intermodal container operator “Trans Container7, DB Schenker8, Far East Landing Bridge (FELB)9.
As an instrument of research, the situation analysis methods were used, computer modelling, transport geography, technical and economic analysis.
3. Results
3.1. Assessment of container transportation market situation
Today, most of the cargo transported from Asia to Europe and back is carried by sea, which is associated with a sharp increase in container freight turnover between the two continents. The second place in the cost volume of supplies is air transport. The list is closed by railway transport.
The prevailing scheme of goods delivery by sea has led to a gradual exhaustion of turnover capacity reserves of the North European ports. In this regard, many logistics companies in Europe and Asia began to increasingly use the ports of the southern Mediterranean to transport goods to the European market. When delivering through southern Europe, large ships navigating from Asia spend three or four days less on the way. In modern conditions, the existing capacity of ports is becoming insufficient, and some of them are already rapidly approaching the maximum volumes of cargo turnover.
The biggest problem that exists in Euro-Asian maritime transport is related to very long shipment time.
An alternative to maritime transport is land transportation, which can meet a significant part of the expected additional demand for transport services in the future. Distances by land between Europe and Asia are generally shorter than the distances by sea, especially if the points of departure and destination of the cargo lie deep in both continents.
Railway transport is becoming an optimal way of ensuring connections between ports and inland regions of a continent. Efficient operation of such railway routes as the Trans-Siberian Railway1 and the Trans-Asian Railway2 through China will enable creation of additional passage capacity, making it possible to form the niche demand for enhanced transportation [13].
Today, the journey speed of container trains along the Trans-Siberian Railway is 1550 km per day. This is achieved, mainly, by increasing the journey speed by reducing the number and duration of technological operations with train units, which undoubtedly increases the competitiveness of this type of transportation. At the same time, the desire to achieve the maximum possible technical speed is limited by the loss of the rest of the freight traffic along the Trans-Siberian Railway.
The next issued is bound with the transportation volume. In the directive documents of the Russian Federation concerning the transport strategy, the declared volume of transit traffic along the Trans-Siberian Railway in 2030 is expected to reach 1.44 million TEU. However, the main problem in the implementation of plans to increase the transit flow of goods is the capacity of the Trans-Siberian Railway. After completion of the reconstruction of the highway by 2018, the total capacity will be 185 million tons per year. At the same time, the share of container transit can increase to 0.5 million TEU, which is clearly not enough to reach the planned traffic volumes.
The assessment of transit potential of the Russian Federation in terms of goods traffic between Asia and the EU indicates that the at the expense of transit time by 25–30 % the sea way goods can be taken as well. The total share of land Eurasian transport can be increased from 1.9 to 18.5 %. Table 1 shows the forecast data for the distribution of container transit between corridors.
Table 1. Distribution of transit volume between corridors, %
Тransports corridor | 2020 |
The Trans-Siberian Railway | 8,1 |
The Trans-Asian Railway | 6,0 |
The Suez Canal route | 81,5 |
Other routes | 4,4 |
Total | 100 |
Using the data of Table 1 for the TSR (8.1), supposing that the average volume grow makes 5.6 %, as well as data of sea container transportations to Europe in 2016 (15.3 million TEU)2, we can calculate the expected transportation volume on the TSR in 2020. The expected transportation volume may reach 1.52 million TEU. Thus, the forecast transportation volume significantly exceeds the volume stated in the directive documents.
A cardinal solution to the problem might become the construction of new rapid transport system with containers carried at least 2500 km per day. This would coincide with UNECE articles. Thus, the Euro-Asian Transport Links report suggests that there is need in diversification of today’s routes and opening of new alternative ones between Europe and Asia, further developing the trans-Siberian communication.
The new transport system can facilitate the release of the capacity of railways for freight traffic, direct uninterrupted communication between Europe and Asia, and, if properly routed, can ensure the availability of transportation services for carrying goods in the Far North, Siberia, the Far East and remote regions of Russia.
3.2. Factors determining the conditions of creation of new transport system
3.2.1 The expected route
Geopolitical factor. In the forming geopolitical realia, it is reasonable to consider the issue of Russia’s using the transport strategic capacities of the Azov and Black Sea Basin in the long run [14]. Besides, to decrease political risk, it would be highly advisable to have the entire route laid on the territory of one country, for example with the starting points on Russia’s Pacific coast and terminal points in logistical centres of the Azov and Black Sea Basin.
Northern territories’ transport accessibility factor. There is a strategic need of priority construction of new extended lines in the poorly developed Northern regions of the country, for example north to the TSR and Baikal-Amur Mainline where the prospective natural resources can be found [15].
Technical and economic factor. Vast territory and high unit cost of MLTS flyover dictates demand in realisation of minimum distance when choosing the route. Unlike conventional railways, a MLTS flyover does not require cleaning taiga territories, levelling the ground, bypassing natural obstacles. The flexible inclusion of the structure into landscape is ensured, creating prerequisite for straightening the track.
Taking into account the main factors determining the proposed route, we can outline the following route: the starting point is on the Pacific coast; the terminal point is one of the ports of the Azov and Black Sea basin. The southern ports of Russia are at the crossroads of the world trade routes, several transport corridors pass through them, in addition, it is the shortest way from the largest industrial centres from Russia to Europe, the countries of the Middle East, and Asia.
As the starting point of the route on the Pacific coast, we can choose the seaport of Vanino (fig. 1a)3. It is a transport hub connecting railway, sea and road routes. Through Vanino shipments are delivered to the northeast regions of Russia, Japan, South Korea, China, Australia, the USA and other countries. The favourable geographic location of the port opens the way to the sea for cargoes travelling along the Baikal-Amur and Trans-Siberian railways
It is advisable to make the Taman peninsula area as a terminal point. Since Russia’s sea infrastructure development strategy up to 20302 forecasts significant increase of cargo turnover of the Azov and Black Sea basin at the expense of construction of the port of Taman3 with the expected capacity of more than 100 million tonnes by 2030. The proposed location of the port is Panagia Cape area (fig. 1b) located in Southwest of Taman Peninsula. The nearest railway hub is the city of Krymsk.
Fig. 1. Geographical location of starting (a) and terminal (b) points of the route
The fig. 2 shows the proposed high-speed MLTS route.
Fig. 2. MLTS high-speed route
The prospective route of the MLTS route is characterised by a very large length (approximately 7 000 km), potentially has a significant range of variation, the width of which can be several hundred kilometers, depending on the terrain features, geotechnical conditions, location of favourable crossings of broad rivers, and also from seismic and other unfavourable conditions on the sections of the direction of the mainline.
The route takes into account key factors: it connects the Azov and Black Sea basin with the Pacific coast, completely passes through the territory of the Russian Federation, including northern territories (up to 60° N), and its length is 25 % shorter than the length of existing routes.
3.2.2. Technical realisation of the transport system
The critical need in creation of high-speed freight transportation systems, having a separate flyover route, generates the task to search for technical solutions, enabling us to decrease costs for construction and maintenance of MLTS.
The proposed route passes through remote low-accessible areas (water barriers, mountain ranges, wetlands, etc.) with a cold climate. In these conditions, transport systems with low-cost infrastructure and technical solutions are needed to ensure uninterrupted traffic on the mainline.
The largest amount of initial investment is associated with significant capital investment in the construction of a track infrastructure for MLTS. This circumstance discourages potential investors. However, if the economically effective MLTS is determined by a competitive environment in well-developed territories with a developed transport infrastructure, in high-traffic areas of the northern hard-to-reach areas to ensure stable cargo flows over the snow and zones of intensive hydrogen wear of structures, the high-speed cargo transport systems of the flyover type on magnetic suspension are essentially non-alternative
In Russia, Ltd. “PRIVOD-N”4 within the Federal Target Programme (Federal’naya Tselevaiia Programma) is developing transport system elements with magnetic suspension aimed at transporting goods through poorly developed northern territories.
The developers of the project have formulated a working hypothesis about construction of simple combined traction and levitation system on the basis of the switched reluctance motor, capable to simultaneously ensure levitation, traction and stabilisation. This combined traction and levitation system enables using the passive discrete guideway with a decreased materials consumption. Besides, the simplicity of the construction is directly related to the most important operational factors, such as survivability and reliability of the system.
The functional scheme of the combined traction and levitation system, arranged on the basis of the switched reluctance motor, is shown in the fig. 3.
Fig. 3. Functional system of combined traction and levitation system
The system of operation 1 generates commutation function K(t), operating switches of power keys of converter 2. Under the influence of the supply voltage Ud, the converter 2 generates phase currents ik in the windings of the traction and levitation module 3. This generates the traction force Fx and the lifting force Fz. Under the action of the traction force Fx, the object moves at a speed Vx, overcoming the resistance to movement fx (block 4). Lifting force Fz provides levitation of the object, compensating the weight of the object P and the action of the disturbing forces fz (block 5). Under the action of these forces, the object moves in the vertical direction at a speed Vz. The gap signal z is formed at the output of the unit 6 by integrating the vertical travel speed Vz, is compared with the set value zset in the block 7, and the error signal Δz is supplied to the input of the control system. In addition, when forming the switching function K(t), the signals Vx, Vz, ik and the speed reference signal Vx set are used.
A peculiarity of the mathematical model of the combined traction and suspension system is the description of the linkage of the phase contour as a function of three variables:
where ik – contour current;
x – horizontal motion coordinate;
z – vertical motion coordinate.
Generally, the mathematical model shows the system of equations describing:
- current balance in electromagnetic contours;
- electromechanical energy converters processes;
- object motion equations.
where ik – electromagnetic contour current;
x – horizontal motion coordinate;
z – vertical motion coordinate;
Ψk – electromagnetic contour linkage;
k – number of electromagnetic contour;
b – number of electromagnetic contours;
g – gravitational acceleration;
m – weigh of levitated object;
R – active resistance of contour;
uk – voltage applied to the electromagnetic contour;
Fx – horizontal force generated by electromagnetic contour;
Fz – vertical force generated by electromagnetic contour
fx – force of resistance to motion;
fz – disturbing action.
On the basis of mathematical model of traction and levitation system, its computer realisation in the graphical environment of imitation modelling Simulink has been developed. The computer model enables conducting modelling of dynamic regimes of the work.
The fig. 4 shows results of modelling of electromechanical processes in traction and levitation system. The oscillograms of instant values of phase currents in traction and levitation module windings, instant force values on the coordinates x, y, z. Phase currents are formed in such a way that the total lifting force produced by the phase contours provides levitation of the object, and the total traction force − the predetermined speed. The picture shows that when a disturbance on the coordinate y acts, a lateral displacement force Fy appears, which provides a course stabilisation of the moving object.
Based on the results of computer simulation of processes in the combined traction and suspension system, the main technical solutions were developed. For experimental verification of the concept, a full-featured physical model of the transport platform was made and experimental studies of the system were carried out.
The main purpose of the experiment was to test the possibility of combining the functions of levitation and traction. The similarity of the processes taking place in the physical model is ensured by the similarity of the configuration of the magnetic system of the model of the traction and levitation module made on a scale of 1:7, the identity of the topology of the schemes of power converters of the model and the object, the identity of the control algorithms with the structure of the control system. The transport platform is equipped with four traction and levitation modules.
Fig. 4. Elektromechanical processes oscillograms in traction and levitation system
The fig. 5 shows functional scheme of the module. Windings L1, L2, L3 of the module A1 are embedded into the power scheme of push–pull converter UZ1–UZ3, which are powered by accumulator battery G1. The control system forms algorithms of commutation of power keys VT1, VT2, converters UZ1–UZ3, ensuring levitation of the object and its linear motion along the guideway.
Fig. 5. Functional scheme of the module
The input of the control system receives signals proportional to the currents in the windings Ia1, Ib1, Ic1 from the current sensors ТА1–ТА3, the air gap δ1 from the gap sensor В1, and also the logic signals fixing the position of the poles of the module magnetic system relative to the track elements from the block of position sensors BL1–BL3.
In terms of construction, the traction and levitation module is fully autonomous and may be adapted to various construction forms of the transport platform.
The fig. 6 shows the general view of the physical model of the transport platform.
Fig. 6. General view of the physical model
The model has four traction and levitation modules, installed on the transport bogie; a platform on which electrical equipment is installed; additional technological platform on which cargo is installed during experiments.
During the experiments, the model was given a levitation regime. To achieve this, the windings of traction and levitation modules were supplied with DC, adjustable in magnitude as a function of the magnitude of the air gap between the module poles and the track elements. Further, the drive system was started, at which the currents in the phase windings were switched by the signals of the position sensors. The transport platform moved contactlessly along the track structure all this time.
The fig. 7 shows oscillograms of electromechanical processes during transition of traction and levitation system from levitation regime to levitated motion regime. The oscillograms show the phase currents of the modules I1a–I4с, the signals of the gap sensors δ1–δ4, the signals of the position sensors Da, Db, Dc.
The research of the physical model of the transport system has proved its working status [16].
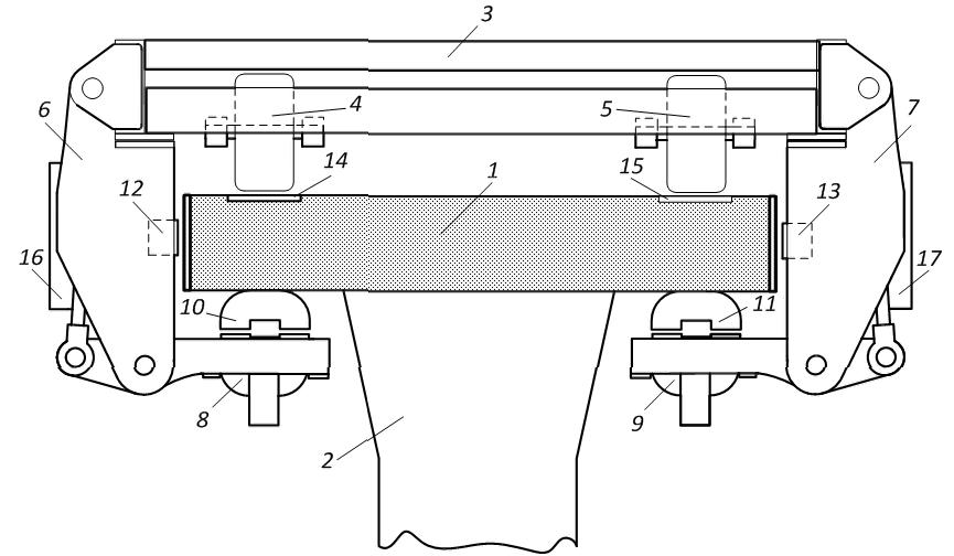
After the research, the construction concept of freight magnetic levitation transport system was proposed for operation in poorly developed areas. The proposed MLTS should have passive guideway structure of flyover type and coupled stock consisting of autonomous platforms for carrying containers. Each platform is equipped with easily-dismounted traction and levitation modules and electric and chemical energy accumulators. Power supply of the rolling stock may be carried out both from autonomous power plants and contact network. The fig. 8 shows cross-sectional view of the transport platform.
Fig. 7. Electromechanical processes oscillograms
Fig. 8. Cross-sectional view of the transport platform
The fig. 8 shows: guideway 1, resting on support 2; transport platform 3, equipped with wheel blocks 4 and 5 for moving platform along the guideway; transfer units 6 and 7, connecting stators of linear motors 8 and 9 and transport platform 3; rotor elements 10 and 11, installed in a row on the guideway 1 with the step equaling pole pitch of linear motor; rollers 12, 13 limiting lateral displacement of the platform. The surface of the guideway 1 has steel plates 14, 15 which serves as the groove for wheels 4 and 5 of the platform 3.
When current pulses are directed to the windings of the stators of linear motors from the converter devices 16, 17, a force interaction of the U-shaped magnetic circuits of the stator and the rotor occurs via an adjustable air gap. A traction, lifting and lateral stabilising force is created, which is transmitted through the transfer units to the transport platform. This ensures a non-contact motion of the transport platform along the track structure.
A container train consisting of the 22 transport platforms described above with a total mass of 1,800 tonnes can transport 43 units of a 40-pound container at a speed of 180 km / h. The speed of motion of container cargo is not less than 3600 km / day. To realise the designed annual volume of transit container traffic of 1.52 million TEU, it is necessary that container trains follow with an interval of approximately 0.5 hours (49 container trains per day). At the same time, 156 container trains must be simultaneously on the line in both directions. The park of transport platforms should be 3432 units (excluding reserve).
Thus, the proposed concept of constructing a high-speed container train is physically feasible and provides the forecasted annual volume of transit container traffic.
4. Assessment of efficiency of investment project
The assessment of the efficiency of the investment project was carried out in accordance with the Methodological Recommendations of the Russian Federation. The horizon of project planning is 40 years. The cash flows of projects form the following items of costs: investment costs; operating costs; payments on property tax.
As the main indicators used to calculate the effectiveness of the investment project, the following ones are selected: net income; net present value; internal rate of return; profitability index; index of profitability of discounted investments; payback period.
The annual economic effect is defined as the difference between the cash flows of the corresponding year of the project with the electric locomotive EP20 [17] and the MLTS project with its subsequent discounting.
Indicators of MLTS project are shown in the table 2.
Table 2
Indicator | Value |
Net income, million rubles | 264 524,4 |
Net present value, million rubles | 7 555,6 |
Internal rate of return, % | 10 |
Profitability index | 2,33 |
Индекс доходности дисконтированных инвестиций | 1,04 |
Payback period, years | 10,1 |
Discounted payback period, years | 26,03 |
The calculated values of the key performance indicators allow us to conclude that the proposed MLTS project for container transportation is effective. Despite the large amount of initial investment associated with more substantial investments in the MLTS track infrastructure, a significant saving in operating costs leads the project to a positive economic result.
The calculations did not take into account the additional cash flows for the operator associated with the tariff component (from the growth of the productivity ratio), as well as the social aspects of the implementation of this project for the regions of the country in which the project will be implemented. Taking into account such multiplicative effect, the economic feasibility and attractiveness of the project is substantially increased.
Conclusion
The development of the transport infrastructure of the Russian Federation is connected with the geographical location of the country as a natural transport corridor connecting the European and Asian-Pacific regions. The creation of a high-speed Euro-Asian transport system complies with the directive documents relating to the transport strategy of the Russian Federation for developing the potential of Euro-Asian transport links and transit freight.
The transport system can be implemented on the basis of modern magnetic levitation technology, which allows significant reducing operating costs, and, consequently, transport costs, due to contactless running of the transport platform along the track structure.
The new transport system will facilitate the release of the capacity of railways for freight transport, the direct transfer of cargo between Europe and Asia, and, if properly routed, will ensure the availability of transport services for the transportation of goods in the Far North, Siberia, the Far East and remote regions of Russia.
Notes:
[1] http://port-ustluga.ru/en.
[2] https://www.mintrans.ru/activity/detail.php?SECTION.
[3] http://unctad.org/en/PublicationsLibrary/rmt2014_ru.pdf.
[4] https://www.unece.org/fileadmin/DAM/trans/main/eatl/docs/EATL_Report_Phase_II-Ru.pdf.
[5] http://www.unece.org/trans/main/eatl.html.
[6] http://icctt.com/transsib.
[7] www.rzdlog.com.
[8] www.trcont.ru.
[9] https://www.dbschenker.com.
[10] www.felb.world.
11 http://www.transsib.ru/cat-geo.htm.
12 http://www.unescap.org/sites/default/files/tarsc-fulltext_1980.pdf.
13 World Maritime Review, 2016.
15 http://www.rosmorport.ru/media/File/State-rivate_Partnership/strategy_2030.pdf.
About the authors
Alexander V. Kireev
Closed Joint-Stock Co. “Scientific-Technical Centre PRIVOD-N”
Author for correspondence.
Email: akireev@privod-n.ru
Cand. Sci. (Eng), Associate Prof., General Director.
Russian FederationNikolay M. Kozhemyaka
Closed Joint-Stock Co. “Scientific-Technical Centre PRIVOD-N”
Email: nkozhemyaka@privod-n.ru
Cand. Sci. (Eng), Technical Director.
Russian FederationGennadiy N. Kononov
Closed Joint-Stock Co. “Scientific-Technical Centre PRIVOD-N”
Email: gkononov@privod-n.ru
Lead. Specialist
Russian FederationReferences
- Владимиров С.А. Мировая транспортная система и логистика: основные направления развития / С.А. Владимиров // Региональная экономика и управление. - 2016. - № 2 (46). - URL: http://eee-region.ru/article/4602 (дата обращения 10.04.2017).
- Yuyama Y. The tobu kyuryo line (popular name: linimo) a magnetic levitation system / Y. Yuyama // The 18th Int. Conf. Magnetically Levitated Systems and Linear Drives, 26-28 Oct. 2004, Shanghai, China. - URL: http://www.maglev.ir/eng/documents/papers/conferences/maglev2004/topic2/IMT_CP_M2004_T2_6.pdf (дата обращения 10.04.2017)
- Shanghai Maglev Transrapid Technology. Presentation Siemens AG, 2007. - URL: http://www.ft.dk/samling/20061/almdel/tm/bilag/361/363482.pdf (дата обращения 27.09.2017).
- Maglev for Urban Transit. - URL: http://www.discovery.org/scripts/viewDB/filesDB-download.php?command=download&id=950 (дата обращения 27.09.2017).
- Wiegand D. Magnetschellbahn Moskau - Berlin: Maglev -Hocheschwindigkeits magistrale Ost-West / D. Wiegand // The Int. Mag-levboard. - München, 2010. - Juni. - Р. 237-245.
- Superconducting Maglev the World’s Fastest Train - Coming to America. Website Company USJMAGLEV, 2012. - URL: http://www.usjmaglev.com/usjmaglev/Home.html (дата обращения 10.04.2017).
- Powell J. The Fight for Maglev: Making America the World Leader in 21st Century Transport / J. Powell, J. Jordan, G. Danby. - USA: Create Space, 2012. - 402 р.
- James K. Maglev Freight Conveyor Systems / K. James. - URL: http://www.maglev.ir/eng/documents/papers/conferences/maglev2008/topic1/IMT_CP_M2008_T1_5.pdf (дата обращения 10.04.2017).
- General Atomics. Maglev Technologies. Website Company General Atomics (GA). - URL: http://www.ga.com/urban-maglev (дата обращения 10.04.2017).
- Антонов Ю.Ф. Технология «Магтрансити» в проекте «Санкт-Петербургский Маглев» / Ю.Ф. Антонов, А.А. Зайцев, Е.И. Морозова, Ю.Ф. Хозиков // Изв. ПГУПС. - 2013. - Вып. 4. - С. 5-17.
- Транспортная стратегия Российской Федерации на период до 2030 года (утв. распоряжением правительства РФ от 11 июня 2014 г. № 1032-р). -URL: http://www.mintrans.ru/activity/detail.php?SECTION_ID=2203#document_19188 (дата обращения 10.04.2017).
- Tennenbaum J. The New Eurasian Land-Bridge Infrastructure Takes Shape, 2001. - URL: http://www.larouchepub.com/eiw/public/2001/eirv28n42-20011102/eirv28n42-20011102_016-the_new_eurasian_land_bridge_inf.pdf (дата обращения 01.09.2017).
- The Euro-Asian Transport Links (EATL) project. - URL: http://www.unece.org/trans/main/eatl.htm (дата обращения 10.04.2017).
- Раровский П.Е. Российский экспорт транспортных услуг в современных условиях / П.Е. Раровский // Рос. бюл. российского фонда. - 2016. -№ 5. - С. 116-131. - URL: http://www.rfej.ru/rvv/id/0003F43CB (дата обращения 27.09.2017).
- Копыленко В.А. Расширение сети железных дорог в малоосвоенных регионах России - одна из важных задач развития железнодорожного транспорта страны в XXI веке / В.А. Копыленко, Ю.А. Быков, И.В. Турбин, В.В. Космин // Наука и транспорт. Модернизация железнодорожного транспорта (Прил. к журн. Транспорт РФ). - 2008. - № 4. - С. 4-7.
- Kireev A.V. Starting operating mode of the combined traction levitation system of the vehicle equipped with magnetic suspension / A.V. Kireev, G.N. Kononov, A.V. Lebedev // Int. J. Power Electronics and Drive System (IJPEDS). - 2017. - № 8 (1): 176. - Р. 176-183.
- Пархоменко А. Локомотивы нового класса EP20 нового поколения РЖД / А. Пархоменко // Railvolution. The Prof. Two-Monthly Magazine of Rail Transp. Worldwide. - Т. 12. - № 4/12. - C. 85-92. - URL: https://library.e.abb.com/public/175cd263dc51cad2c1257a860040bcd2/Railvolution04-12-ABB-Traction-transformers-EP20.pdf (дата обращения 10.04.2017).
Supplementary files










