Approaches to the creation of the new vehicle of «Monojet»
- Authors: Milovanova E.A.1, Milovanov A.A.1, Milovanov A.I.1
-
Affiliations:
- The Irkutsk State Railway Transport University
- Issue: Vol 2, No 1 (2016)
- Pages: 65-88
- Section: Original papers
- URL: https://journals.eco-vector.com/transsyst/article/view/7585
- DOI: https://doi.org/10.17816/transsyst20162165-88
- ID: 7585
Cite item
Full Text
Abstract
The vehicle is offered the body of which is made to create during the movement an aerodynamic elevating force, and is supplied with mechanical means of communication with a motionless carrying track. The distinguished feature of this vehicle is that it uses current conducting track being on high-speed sections of the track as a unit of transport system suspended to the vehicle in the function of cable-current conductor.
The aim of the works creation on the basis of monorail, suspended cable-way and airtransport of essentially new type of transport combining their best properties and strengthening them:
- reliability, weatherproof, opportunity of complete automation of management of process of transportations and cargo handling works;
- high carrying capacity, speed and range of action without increasing capacity of bearing(carrying) ways;
- meeting the high requirements on the part of ecology and profitability in an expenditure of energy carriers, because of application of various means from the electric power up to energy of natural gas;
- flexibility of formation of structure of transport.
The new vehicle, uses a monorail as track; its body can be made to create in it the elevating force on a principle of aerostatics and in addition it is supplied with constructive elements, to create aerodynamic elevating force during the movement. Thus the track can be made as a combination of powerful sections for an acceleration and facilitated mid-flight sites. The monorail of a transit can be supplied with current conductor, feeding power installation, and on mid-flight sections of a way it can be made, as a cable-current conductor. The power(force) installation can be made as a combination of engines of electrical draft with engines of jet draft or draft of the air screw, to change the position of a vector of draft in planes from horizontal up to vertical.
The name of an offered type of transport is logically justified: "MONOJET" - is the vehicle carrying out movement in space close to flight, on a unique trajectory given by a rail of the track.
Full Text
1. Введение
Известна черта национальной гордости россиян, основывающаяся на осознании возможности распоряжаться наибольшей, по сравнению с другими народами, частью суши Земли. При этом, огромная территория России, – назовем ее "транспортное пространство", - представляя собой высочайшую экономическую ценность, является весомым фактором живучести и устойчивой опорой обороноспособности страны.
Государство, рационально использующее свое транспортное пространство, - процветает. Известно, что лучшей проверкой состояния государственной экономики являются экстремальные ситуации в жизни страны. Поэтому наиболее яркими историческими примерами, косвенно подтверждающими значимость способности пользования транспортным пространством, являются события, оказавшие самое заметное воздействие на чувство национальной гордости россиян в 20-м веке. Первым таким событием следует, видимо, признать поражение в Русско-японской войне в 1905 году, во многом определившееся не замкнутостью транспортного пространства России к началу войны, из-за чего русские войска на Дальнем Востоке оказались в фактической изоляции от страны.
Второе событие - несомненно, победа в Великой Отечественной войне. Победоносное шествие гитлеровских войск по странам Европы, во многом обеспеченное правильной концепцией использования транспортного пространства, было остановлено и обращено вспять не только гением военачальников, героизмом солдат и поддержкой союзников, но и по причине несостоятельности этой концепции для транспортного пространства СССР. И, наоборот, советское руководство сумело найти оптимальную форму организации работы располагаемого транспортного пространства.
Сейчас, на выходе из очередного крутого поворота Российской истории, во весь рост обострилась потребность в разработке и реализации эффективных мер укрепления экономического потенциала и обороноспособности страны.
При этом материальные ресурсы благосостояния народа, сосредоточенные на поверхности территории страны и в её недрах, по-прежнему оцениваются, как самые богатые в мире, и постоянно находятся под прицелом алчных взглядов ото всех границ. К сожалению, состояние экономики страны сегодня определяется, в значительной мере, умением властей правильно распорядиться сырьевыми и топливными ресурсами, дарованными нам природой. Наряду с необходимостью повышения готовности отвечать на серьёзные вызовы в адрес обороноспособности страны, эта задача выдвигает возрастающие требования к развитию и модернизации транспортных связей.
С первого взгляда на карту страны видно, что сравнительно достаточное обеспечение транспортными связями имеет только европейская её часть, запасы природных богатств которой уже в значительной степени истощены. Всё восточное Зауралье до побережья Тихого океана имеет фактически по одной эффективной магистрали автомобильного, железнодорожного и авиационного транспорта, которые расположены вдоль южной границы и связывают одни и те же крупные промышленные центры.
В меридианальном направлении надёжные транспортные связи, кроме воздушных и водных путей и дорог местного значения, практически отсутствуют. При этом ритмичная работа водного и воздушного транспорта не может быть обеспечена в связи с резкими сезонными изменениями погодных условий регионов. А местные дороги не способны перерасти в магистральные, если они не будут связывать крупные узлы. Учитывая состояние экономики страны, сегодня всерьёз о создании таких узлов говорить не приходится.
Таким образом, цель укрепления обороноспособности, наряду с повышением эффективности освоения природных богатств Сибири и Дальнего Востока и Севера страны, делает необходимым поиск возможностей рационализации транспортных связей России на нетрадиционных направлениях, как для собственных нужд, так и для нужд мирового сообщества.
2. Перспективы применения известных транспортных систем для зоны Восточного Зауралья
2.1 Железные и автомобильные дороги
Использование территории России для рационализации мировых транспортных связей способно резко сократить пробег грузов и пассажиров между пунктами Европы и Азии. При том, что дальность морских перевозок между ними составляет 30-35 тыс. км., особо привлекателен сравнительно дешевый и высоко надежный железнодорожный путь от западной до восточной границы России.
Существенным препятствием здесь является недостаточное техническое оснащение железных дорог страны, в том числе и Транссибирской магистрали, которая строилась еще в XIX веке. При этом и пробег грузов по железной дороге между Москвой и Владивостоком почти на 2 тыс. км. превышает это расстояние по кратчайшему направлению, которое может быть реализовано в современных условиях.
Решению проблемы может послужить сооружение новой скоростной двупутной магистрали с колеёй, принятой в большинстве стран мира, и с использованием новейших технических решений по созданию высокоскоростного железнодорожного транспорта. Выполняя основную задачу обеспечения международного транзита пассажиров и грузов, - такая "супермагистраль" могла бы служить базовой опорой для развития местных транспортных связей в меридиональном направлении, в том числе и на нетрадиционных для России путях технической реализации.
Однако, концепция освоения и контроля жизненного пространства, базирующаяся на идее создания стационарных наземных транспортных связей, обязательной основой которых служит сплошное земляное полотно, выглядит несостоятельной для зоны Восточного Зауралья.
Геотектоника региона, климатические условия и протяженность этих связей требует неподъемных для страны затрат на их создание и содержание. Необходимость включения туннелей в состав транспортной сети, продиктованная условиями местности, повышает степень уязвимости пути и опасности процесса перевозок (красочную иллюстрацию этому соображению дает пример Северо-Муйского туннеля, как и, в целом, затянувшийся процесс превращения БАМа в прибыльное предприятие).
Сказанное в равной мере относится (с поправкой на величину удельной нагрузки на единицу транспортного средства) к имеющей стратегическое значение автомобильной магистрали, параллельной главному ходу железной дороги.
В дальнейшем для обоснования целесообразности развития нетрадиционных для России транспортных связей, в качестве примера, приводятся доводы, опирающиеся на нужды и возможности Восточной Сибири, Дальнего Востока и Севера страны.
2.2 Водные и воздушные пути
Водные и воздушные пути сообщения представлены в зоне Восточного Зауралья ограниченным числом транспортных связей, отвечающих характеристике магистралей: водные, по преимуществу, в меридиональном направлении, воздушные – в широтном. Это ограничение продиктовано малым количеством на азиатской части территории страны крупных промышленных центров – опорных узлов для транспортных магистралей, что, в свою очередь, обусловлено слабой мотивацией роста плотности населения.
Зависимость от сезонных условий эксплуатации резко снижает решающее достоинство водного транспорта: возможность использования транспортных средств высокой грузоподъёмности (отсюда, например, – регулярно проявляющаяся проблема северного завоза).
Обслуживающие воздушные пути сообщения, воздухоплавающие и авиационные транспортные средства не требуют сплошного полотна в качестве пути следования (путь следования определяется безопорным перемещением в пространстве, а значит, может иметь любую форму в плане).
Однако, существенным противовесом основному достоинству этих видов транспорта, - высокой маневренности при широком диапазоне скоростей движения, - становятся ограничения со стороны использования энергоносителей для обеспечения автономного полета.
2.3 Канатные дороги
Канатные дороги используются для перевозок на коротких и средних расстояниях. Особенно они эффективны в условиях горной и пересеченной местности, где по ряду показателей превосходят все другие транспортные средства. Основными преимуществами канатных дорог являются:
- - малая зависимость от рельефа местности; большие допустимые уклоны пути (500) и пролеты между опорами (свыше 500м) позволяют прокладывать трассу по кратчайшему расстоянию и пересекать естественные и искусственные преграды без устройства дорогостоящих искусственных сооружений;
- - гибкость трассы дорог в плане, вследствие возможностей использования кривых малых радиусов (до 5м) и больших углов поворота (до 1800);
- - малая зависимость от атмосферных условий, обеспечивающая возможность бесперебойной работы в условиях снежных заносов, гололеда и др.;
- - возможность полной автоматизации погрузки, транспортировки и выгрузки грузов;
- - способность обеспечить пассажирам высокое эстетическое удовлетворение, недостижимое при пользовании любым другим видом транспорта, путем прокладки трассы по наиболее живописным местам.
- Идея создания и развития подвесных канатных дорог в городах и окружающих природоохранных зонах предусматривает достижение целей:
- - решение проблемы пассажирских перевозок в городах без существенной реконструкции и увеличения мощности сложившейся сети дорог;
- - реализация потенциала природных богатств, при их сохранении, путем развития индустрии международного туризма на высоком научно - техническом и культурном уровне;
- - обеспечение горнодобывающей промышленности надежным, высокопроизводительным, дешевым транспортным средством.
Таким образом, экономическая выгода обеспечивается ростом технической и культурной оснащенности города, края, области, региона, при соответствии способа получения доходов высоким требованиям со стороны экологии.
Однако, обеспечивая высокую конкурентоспособность в местных перевозках, сравнительно невысокая грузоподъёмность транспортных средств канатных дорог делает невозможной их применение для магистральных перевозок грузов из категории сырьевых и топливных ресурсов.
2.4 Монорельсовые железные дороги
Монорельсовые железные дороги относятся к разделу специальных надземных эстакадных дорог, применяемых в основном для перевозки пассажиров, изредка, для транспортирования грузов (большей частью в пределах территории предприятия, в качестве внутризаводского транспорта). Основными преимуществами монорельсовых дорог являются:
- возможность реализации высоких темпов строительства с использованием индустриальных методов и современной монтажной техники, так как основной объём строительных работ представлен сборочными работами и исключен огромный объем земляных работ, свойственных видам транспорта, требующим сплошного наземного полотна. При этом практическая работа действующего транспорта не нарушается. Стоимость постройки монорельсовой дороги в городах меньше стоимости сооружения: метрополитена - в 2 - 8 раз, современной автострады – в 1,2 - 3,0 раза и надземной железной дороги - в 2 - 6 раз. Опыт действующих монорельсовых дорог показывает, что средний уровень эксплуатационных расходов на них на 15-30% ниже, чем у трамвая;
- - монорельсовые дороги имеют высокую пропускную способность, приближающуюся к пропускной способности метрополитена, при этом среднеэксплуатационные скорости на известных монорельсовых дорогах, действующих в черте городов, в 1,5 - 2 раза превышают средние скорости метрополитена;
- - высока степень надежности монорельсовых дорог, связанная с независимостью от других видов транспорта и возможностью автоматизации процесса движения на современном техническом уровне. Ярким примером служит безаварийная работа Вуппертальской монорельсовой железной дороги, действующей с 1901 года. Кстати, постройка 1 км этой дороги стоила в 4 - 5 раз дешевле, чем постройка 1 км метрополитена для того же времени;
- - независимость эксплуатационных характеристик от климатических и городских условий и значительно меньшая зависимость формы пути в плане от сложностей рельефа местности, по сравнению с видами транспорта, требующими сплошного наземного полотна.
Идея создания и развития сети подвесных монорельсовых железных дорог предусматривает (кроме указанных для канатных дорог) цель быстрого выхода к пунктам добычи полезных ископаемых, расположенных в труднодоступных районах, со свойственными большей части территории России сложными климатическими условиями, и их эксплуатации при использовании вахтового метода.
Однако возможности применения монорельсового транспорта ограничены для выполнения, например, перевозок с обеспечением высокой грузоподъемности, так как в этом случае требуется значительное увеличение мощности несущего пути из-за того, что на всех участках пути следования сохраняется практически неизменным соответствие между мощностью силовой установки, массовыми и нагрузочными характеристиками. Это обстоятельство резко снижает преимущества монорельсового транспорта перед железнодорожным на сплошном земляном полотне.
2.5 Результаты патентных исследований.
Обзор патентной информации о технических решениях, развивающихся и совершенствующих идею подвесного транспорта, позволил выделить из их многообразия решения, обобщенно отражающие конструкторские идеи, перспективные для выполнения намеченных целей.
Известно воздушное средство, предназначенное для перемещения по заданному пути (патент Франции N1.409.728.), представляющее собой летательный аппарат, траектория перемещения которого в пространстве определяется трассой подвешенного на опорах пути - аналога канатной подвесной дороги. При этом путь воспринимает часть веса транспортного средства, которая может оказаться незначительной при реализации на крыле достаточной подъёмной силы. Это позволяет выполнить путь облегчённым. Постоянное положение направляющего пути, определяющее постоянство ориентирования транспортного средства при движении в пространстве, ограниченном опорами, позволяет обеспечить электрическое питание силовой установки, чем повышается энерговооружённость транспортного средства.
Рис. 1. Схема транспортной системы по патенту Франции N1.409.728.
Схема этого решения представлена на рис.1, где: 14-направляющий элемент пути следования,15-элемент подвешивания пути к опоре (портику) 13 посредством соединительного шарнира 16, 20-жёсткие направляющие движения с элементами 18, 19, 21,служащими опорой для корпуса F транспортного средства, снабжённого крыльевыми элементами 3.
Известна "Воздушная транспортная система инженера В. Н. Андрейченко" по авторскому свидетельству СССР N 770890, в которой летательный аппарат легче воздуха, снабжённый воздушными двигательными установками, перемещается в пространстве вдоль жёстких направляющих балансиров пути следования, подвешенного на опорах. Связь летательного аппарата с направляющими балансирами осуществляется посредством шарнирных соединений поворотных рамных тележек.
Схема транспортной системы на рис. 2, где: 1 - направляющие балансиры; корпус аппарата легче воздуха; 4, 5-двигатели с воздушными винтами; 6, 7 - аэродинамические плоскости; 8, 9, 10, 11, 12 – поворотные рамные тележки и их элементы.
Рис. 2. Воздушная транспортная система инженера В. Н. Андрейченко
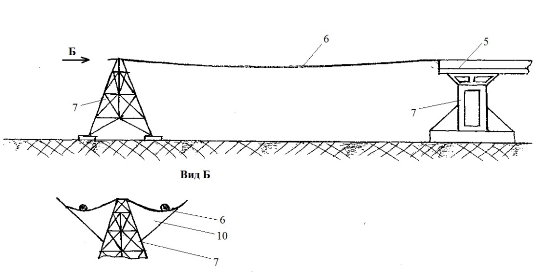
Известна "Воздушная транспортная система" по авторскому свидетельству СССР N 885087, в которой летательный аппарат, снабжённый воздушными двигательными установками, перемещается в пространстве вдоль направляющих тросов, подвешенных на опорах и снабжённых токонесущим проводом. Связь летательного аппарата с направляющим тросом осуществляется посредством кабеля с токоприёмником.
Схема транспортной системы приведена на рис.3, где: 1-дирижабль; 7, 8-токоприёмник с кабелем; 9, 10-средство для регулировки напряжения кабеля 8; 14, 17-направляющий трос с токонесущим токопроводом; 22-опора.
Рис. 3. Воздушная транспортная система по а.с. № 885087
Известен "Экранолёт" (заявка ФРГ N 2327024), корпус которого снабжён крылом, создающим при движении аэродинамическую подъёмную силу, и связан с монорельсом, выполняющим роль неподвижного пути следования, посредством неразъемного шарнирного соединения и колёс шасси, выходящих из контакта с монорельсом после появления на крыле достаточной подъёмной силы.
Схема экранолёта приведена на рис.4, где: 1-крыло с концевыми шайбами 4 укреплено на корпусе 2 с шайбой 5 и мотогондолой 6. В носовой части корпуса расположен шарнир 10, связывающий его с кареткой 3, движущейся с помощью направляющих роликов 9 по монорельсу 8.
Рис. 4. Экранолёт по заявке ФРГ N 2327024
Общим достоинством перечисленных технических решений, кроме указанных в общей характеристике канатных и монорельсовых железных дорог, является их способность оказывать минимальное давление на путь при движении в его направляющих. Существенной добавкой к повышению энерговооружённости транспортного средства является возможность снабдить путь токопроводом, использованной в патенте Фр.N 1.409.728 и в а.с. СССР N 885087.
Однако, несущая способность этих транспортных систем, вошедших в обзор, как и вообще канатных дорог - ограничена при условии большой весовой отдачи в грузовых перевозках и при загрузке их обычным способом: без дополнительных технических средств, на стоянке. И осуществление грузовых перевозок на большие расстояния с их помощью - неэкономично.
Комплексно общий недостаток видов транспорта, не требующих сплошного земляного полотна, выражается в неэкономичности осуществления с их помощью перевозок грузов, подпадающих под категорию сырьевых и топливных ресурсов.
3. Разработка конструктивной схемы "МОНОЛЁТА" и обоснование возможности и целесообразности её технической реализации
3.1 Обоснование идеи "МОНОЛЁТА"
Железнодорожное транспортное средство «Монолет» защищено патентом на изобретение РФ № 214891. На начальной стадии патентования была предложена такая редакция формулы изобретения:
Транспортное средство, корпус которого снабжён конструктивным элементом, выполненным с возможностью создания во время движения аэродинамической подъёмной силы, и механическими средствами связи с неподвижным несущим путём следования, отличающееся тем, что оно выполнено с возможностью использования токопроводящего пути следования на маршевых (скоростных) участках движения, как несомого, подвешенного к транспортному средству, элемента транспортной системы, выполненного как трос-токопровод.
Техническая реализация этой формулы в полном объёме ведёт к созданию железнодорожного транспортного средства, использующего монорельс в качестве пути следования, корпус которого, с целью уменьшения давления на путь, и, таким образом, исключения необходимости повышения несущей мощности монорельса при увеличении грузоподъемности транспортного средства, может быть выполнен с возможностью создания в нем подъемной силы на принципе аэростатики и дополнительно снабжен конструктивными элементами, например, плоскостями для создания аэродинамической подъемной силы во время движения. Силовая установка, использующая различные энергоносители от электроэнергии до энергии химических реакций, может быть выполнена с возможностью изменения положения вектора тяги от горизонтального до вертикального. При этом путь следования может быть выполнен в виде сочетания разгонных участков, отвечающих своими прочностными характеристиками требованиям высокой удельной грузоподъемности (аналог аэродрома), с маршевыми участками (аналог железнодорожного перегона), прочностные требования к которым могут быть значительно снижены, за счет действия аэростатической и аэродинамической подъемной силы и вертикальной тяги силовой установки. Монорельс пути следования может быть выполнен (может быть снабжен) токопроводом, питающим силовую установку, а на маршевых участках пути может быть выполнен, как трос-токопровод. Как вариант, на маршевых участках может быть применен жесткий монорельс, опирающийся на облегченную эстакаду, прочностные требования к которой значительно снижены по сравнению с эстакадой разгонного (тормозного) участка пути.
Силовая установка может быть выполнена в виде комбинации двигателей электрической тяги с двигателями реактивной тяги или тяги воздушного винта, с возможностью изменения положения вектора тяги в плоскостях от горизонтальной до вертикальной. Транспортное средство может быть представлено в виде одиночного индивидуального объекта или в виде состава, выполненного сочетанием индивидуальных объектов, при этом каждый из объектов в составе может обладать своими отличительными конструктивными признаками, отвечающими его индивидуальному назначению в составе транспортного средства.
Речь, таким образом, идет о создании на базе монорельсового, канатного и авиационного принципиально нового вида транспорта, сочетающего в себе и усиливающие их лучшие свойства:
- - надежность, всепогодность, возможность полной автоматизации управления процессом перевозок и погрузочно-разгрузочных работ;
- - высокая грузоподъемность, скорость и дальность действия без увеличения мощности несущих путей;
- - соответствие высоким требованиям со стороны экологии и экономичность в расходовании энергоносителей, за счет возможности применения в этом качестве различных средств от электроэнергии до энергии природного газа;
- - гибкость формирования состава транспорта.
Логически оправдано наименование предлагаемого вида транспорта: "МОНОЛЕТ"- действительно, это железнодорожное транспортное средство, выполняющее в пространстве движение, одним из составляющих которого является полет, по единственной траектории, заданной рельсом (тросом-токопроводом) пути следования.
3.2 Конструктивная схема "МОНОЛЁТА" и пути её технического решения.
Уже сама постановка задачи о создании такого вида транспорта предполагает развитие новых направлений для научно-технического обеспечения ее решения. Вот самые очевидные:
- - при сохранении категоричности железнодорожного, новое транспортное средство должно обладать качествами, присущими летательному аппарату;
- - силовая установка, обеспечивающая движение транспортного средства, становится комбинированной, т.к. в этом случае имеется возможность использования преимуществ электрической тяги в сочетании с реактивной тягой или тягой воздушного винта, при этом созданию горизонтальной тяги, для скоростного движения вдоль пути следования, может сопутствовать создание вертикальной тяги, для снижения давления на путь;
- - кардинально изменяется структура построения пути следования по сравнению с известными транспортными путями со сплошным полотном, т.к. для нового вида транспорта требуются разгонные участки с мощным несущим рельсом и малыми пролетами между опорами (вблизи станций) и маршевые участки с облегченным рельсом и увеличенными пролетами, на которых полностью реализуется способность транспортного средства использовать аэростатические и аэродинамические силы, а также вертикальную тягу двигателей для уменьшения давления на путь (на длинных перегонах), вплоть до обеспечения способности транспортного средства нести путь следования на себе.
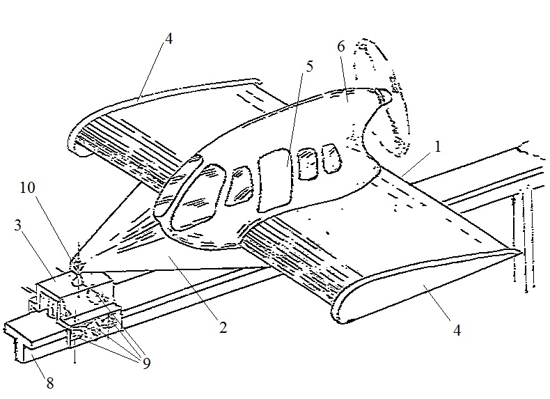
Рис. 5. «Монолет» на стоянке
Пример одного из возможных вариантов конструкторского решения представлен на рис. 5, где: 1 - корпус транспортного средства; 2 - плоскость для создания подъемной силы и стабилизации положения транспортного средства при движении; 3 - двигатель, использующий реактивную тягу или тягу воздушного винта; 4 - устройство для изменения положения вектора тяги; 5 - токонесущий монорельс; 6 - трос-токопровод; 7 - опора; 8 - шасси-токосъемник; 9 - роликовый токосъемник; 10 - ложемент троса-токопровода на опоре.
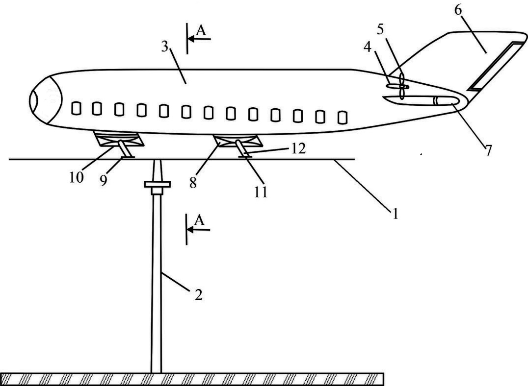
Структура пути следования изображена на рис. 6.
Рис. 6. Структура пути следования «Монолета»
3.3. Работа предлагаемого транспортного средства по перемещению полезных грузов состоит из трех этапов:
I этап - запуск двигателя и разгон.
Транспортное средство находится на разгонном участке пути следования - аналоге аэродрома - с мощным несущим монорельсом и малыми пролетами между опорами. Запуск силовой установки и вывод двигателей на рабочий режим осуществляется от питающего токопровода, являющегося элементом пути следования. Регулировкой работы двигателей между транспортным средством и поверхностью монорельса создается воздушная подушка.
Опора на монорельс осуществляется посредством шасси, которое дополнительно является токосъемником. Длина разгонного участка соответствует набору транспортным средством скорости движения, соответствующей экономичному режиму работы двигателей при обеспечении значения величины подъемной силы на плоскостях, соответствующего минимальному, для обеспечения устойчивого движения в вертикальной плоскости, давлению на путь, которое должно сохраняться все время движения по маршевому участку II-го этапа.
II этап. К этому моменту поворотом жалюзи, размещенных в сопловых аппаратах двигателей реактивной тяги (поворотом оси тяговых двигателей и пр.) создается вертикальная тяга, величиной которой регулируется давление на путь и, таким образом, стабилизируется движение транспортного средства в вертикальной плоскости. Несущий монорельс трансформируется в трос-токопровод. Шасси выходит из контакта с монорельсом, в дальнейшем токосъем осуществляется с помощью роликов, по которым скользит трос-токопровод. Облегченный монорельс (трос-токопровод) питает силовую установку и задает траекторию транспортного средства в плане.
III этап - торможение - участок пути следования, представляющий собой зеркальное отражение разгонного участка. Здесь происходит эффективное торможение транспортного средства, для чего дополнительно могут быть применены отработанные в авиации приемы, такие как реверс двигателей или снабжение плоскостей средствами механизации (закрылки, щитки и т.д.). В следующем цикле движения этот участок пути становится разгонным для перемещения транспортного средства в обратном направлении или продолжения движения по маршруту.
3.4. Техническое обеспечение проблемы
Задача создания такого транспортного средства имеет достаточное обеспечение опытом решения проблем создания и развития транспортной техники по отраслям:
- конструкторские разработки по созданию корпусов надземных и подземных транспортных средств, отвечающих требованиям аэродинамики, сродни разработкам авиационных конструкторов;
- т.к. вдоль всего пути следования несущий монорельс может являться (быть снабжен) токопроводом, то запуск приданных транспортному средству авиадвигателей и корректировка их работы в течение всего процесса движения, а также дублирование с целью повышения суммарной мощности силовой установки, могут быть осуществлены с помощью двигателей электрической тяги на постоянном и переменном токе, в использовании которых накоплен достаточный опыт;
- накопленный при создании самолетов короткого взлета-посадки опыт использования силовых установок с изменением положения вектора тяги, от вертикального на взлете до горизонтального в крейсерском полете, может быть успешно использован для снижения давления на путь на всех участках следования;
- наконец, путь следования представляет собой комбинацию разгонного участка, - аналога аэродрома, - отвечающего своими прочностными характеристиками требованиям к железнодорожному полотну, и маршевого участка, - аналога железнодорожного перегона, - прочностные требования к которому существенно снижены за счет использования транспортным средством свойств, присущих авиатранспорту; при этом задача о создании несущего рельса, по которому перемещается транспортное средство, может трансформироваться в задачу о создании транспортного средства, несущего трос-токопровод, задающий траекторию пути следования, что избавляет конструкторов от необходимости повышения жесткости несущего монорельса при увеличении грузоподъемности обычных, использующих его, транспортных средств.
Поэтому с полной уверенностью можно утверждать техническую возможность, а, учитывая острую потребность страны в развитии новых транспортных связей, и экономическую целесообразность создания предлагаемого вида транспорта.
Уникальным по своей бесконечности просторам России нужен именно такой вид транспорта для быстрого выхода к своим природным богатствам, в том числе и путем развития транспортных связей в меридианальном направлении.
- Некоторые перспективы реализации идеи «МОНОЛЕТА»
3.5.1 Монолет-авиаматка
XX-й век по праву может быть назван веком авиации. Действительно в этой отрасли нашли применение самые смелые технические идеи и самые передовые технологии века. Именно авиация стала мостиком для шага в межпланетное пространство. Однако, при всех шумных успехах технического прогресса, сопутствующего развитию отрасли, современному самолету не нашлось достойного для сравнения аналога в биосистеме Земли, созданной самым последовательным и самым рациональным конструктором – Природой. (А может сама авиация не доросла до подобных аналогий?) Такому сравнению должен был бы отвечать летящий страус или бегущий орел.
Сочетание в одном транспортном средстве двух функций по выполнению опорного и безопорного движения порождает сомнение о правильности выбора пути с самого начала. А если учесть, что, исключая случаи сознательного целенаправленного уничтожения самолетов в воздухе, почти 100% летных происшествий, в том числе и самых тяжелых катастроф, приходится на режим взлета-посадки, то сомнение это становится более чем обоснованным.
Летательный аппарат должен летать!
Наземное транспортное средство должно перемещаться по земле!
Монолету вполне по силам стать передаточным звеном в этой цепочке.
Реально выполнимой становится задача создания «подвижного аэродрома», авиаматки, способной нести на своей поверхности летательные средства и служить для них стартовой площадкой, обеспечивающей своим движением высокую стартовую скорость при запуске летательного аппарата или возможность прекращения им самостоятельного полета (посадки) при сохранении высокой скорости движения относительно земли.
При этом МOНОЛЕТ, как сухопутный, практически не сбиваемый авианосец, или как высоко грузоподъемное и высоко скоростное транспортное средство для переброски войск и военной техники, вполне отвечает концепции оборонительной стратегии при строительстве Вооруженных Сил страны, обеспечивая возможность обходится малочисленной, высокопрофессиональной армией.
Во время движения над равнинными участками суши, в тундре, над водной гладью МОНОЛЕТ способен продуктивно использовать экранный эффект для создания дополнительной аэродинамической подъемной силы, вследствие чего вовсе не фантастической выглядит перспектива использования его в экваториальных водах, как стартовой площадки для запуска космических кораблей. В этом случае следует лишь научиться прокладывать трассу пути следования в морских просторах используя для этого, например, располагаемый опыт создания стационарных плавсреств типа морских нефтяных вышек.
- Перспективы области знания и научных исследований
Развитие транспортных систем с МОНОЛЕТОМ в качестве ключевого элемента откроет новые горизонты в области научно-технического прогресса.
В первую очередь это относится к совершенствованию существующих и разработке новых систем автоматического регулирования и управления процессов, связанных с движением.
Обязательно решение на новом уровне проблем энергоснабжения с применением, например, оптико-волоконной и лазерной техники для передачи энергии на значительные расстояния с целью обеспечения бесперебойного питания силовых установок транспортных средств.
Очевидна потребность поиска новых источников энергии и способов их эксплуатации. В числе перспективных, малоосвоенных источников можно назвать энергию воздушных и морских течений, энергию атмосферного электричества, энергию электромагнитного поля земли, бесконтактные системы передачи энергии на борт транспортного средства.
3.5.3 Перспективы освоения труднодоступных районов планеты.
Россия, обладая наибольшей территорией, имеет на этой территории районы с относительной наименьшей плотностью населения, а значит, по существу, неосвоенные районы. Развитие предлагаемой транспортной системы откроет возможности доступа в эти районы без создания дорогостоящих стационарных базовых пунктов. Особенно важно это обстоятельство для освоения и эксплуатации полярных областей Земли, потенциал которых сегодня исследован немногим больше, чем к началу полярных экспедиций. Наконец, простая необходимость поддержания жизнедеятельности северных городов страны является достаточным доводом для создания предлагаемой системы.
4. Заключение
Ясно, что по состоянию на данный момент предложение вносится на уровне технической идеи, проработано эскизно. Поэтому, естественно, многие вопросы технического, организационного, научного, экономического характера остались вне поля зрения разработчиков. Однако есть полная уверенность в необходимости попытки ее реализации. Эта уверенность базируется на вполне прогнозируемом объеме выгод по многим направлениям развития научной и хозяйственной деятельности зон Сибири, Дальнего Востока и Севера, например:
в создании устойчивых транспортных связей в меридиональном направлении, в том числе, в решении проблемы «северного завоза»;
в освоении полярных областей (с учетом предсказуемой предстоящей борьбы за обладание просторами Арктики, а затем, вероятно, и Антарктики);
в создании стационарных надземных межконтинентальных «транспортных мостов»;
даст новый импульс совершенствованию отечественной авиационной техники, а также обеспечит возможность возрождения на качественно новом уровне подвижных стратегических средств обороны, отвечая оборонной концепции формирования вооруженных сил страны;
позволит вплотную подойти к решению проблемы запуска космических кораблей из экваториальных областей мирового океана.
Перечисленные доводы дают возможность перехода в стадию реального проектирования предлагаемой транспортной системы с формулировкой реально достижимых и осуществимых:
А) целей и задач проекта:
- укрепление обороноспособности страны;
- открытие нового поля деятельности для появления отечественных высоких технологий;
- выравнивание экономического потенциала и жизненного уровня в регионах;
- обеспечение достойного рода занятий подрастающему и будущим поколениям россиян на всей территории страны;
- рационализация использования транспортного пространства России для собственных нужд и нужд мирового сообщества.
Б) действий по достижению поставленных целей:
- разработка способов и устройств, для выполнения в полном объеме комплекса научно-исследовательских работ для железнодорожной транспортной системы в условиях стационара;
- проектные исследования в разработке нетрадиционных для России транспортных систем и адаптация полученного научно-исследовательского комплекса к задачам проектирования и экспериментальной отработки этих систем.
Очевидно, что решение задачи создания надежных транспортных связей в зоне Сибири, Дальнего Востока и Севера страны, следует начинать, взяв за базовую железнодорожную транспортную систему, как наиболее эффективную для осуществления магистральных перевозок, резко повысив качество научно-технического обеспечения. При этом перспектива развития этих связей должна предусматривать исключение зависимости от диктата зарубежных технологий, при разумном дозированном использовании полезных сведений.
About the authors
Evgeniya A. Milovanova
The Irkutsk State Railway Transport University
Author for correspondence.
Email: evakami@yandex.ru
Ph.D.(Tech), associate professor of the department EPS
Russian FederationAlexei A. Milovanov
The Irkutsk State Railway Transport University
Email: Milovanov_aa@irgups.ru
Ph.D.(Tech), associate professor of the department TOE
Russian FederationAlexei I. Milovanov
The Irkutsk State Railway Transport University
Email: amilovanov@irgups.ru
Ph.D.(Tech), associate professor of the department FViP.
Russian FederationReferences
- Коновалов В. С. Области эффективного взаимодействия специальных и универсальных видов транспорта/ В. С. Коновалов, Т. В. Короткина, И. В. Рогожина / - М.: Транспорт, 1977. - 420 с.
- Чиркин В. В. Пассажирские монорельсовые дороги/ В. В. Чиркин, О. С. Петренко, А. С. Михайлов и др. / - М.: Машиностроение, 1969. - 280 с.
- Милованов А. И. / Железнодорожное транспортное средство "Монолет" / Патент РФ № 2104891. Бюл. № 5. 1998.
- Милованова Е. А. Дорога в XXI век / Сборник трудов ИЗТМ-96, Т.2.НТА «Актуальные проблемы фундаментальных наук» / Е. А. Милованова, А. А. Милованов, А. И. Милованов, А. В. Дмитренко - М.: М.:МГТУ им. Баумана, 1997.
- Милованова Е. А. Поиск скорости и грузоподъемности на путях развития нетрадиционных транспортных систем в Сибири/ Материалы Межвузовской н.-тех. конф. ОмИИТ/ Е. А. Милованова, А. А. Милованов, А. И. Милованов - Омск: ОМГУПС, 1998. - 14 с.
- Milovanova E.A., Milovanov A.A., Milovanov А.1./ The new vehicle of «Monolet»/ The third Russian-Korean International Symposium on Science, and Technology «Koms’99». - Novosibirsk, Russia. 1999, vol. 1. - 45 p.
- Милованова Е. А. Взгляд на перспективы развития в Восточной Сибири нетрадиционных транспортных систем / Сборник материалов Байкальского экономического форума / Е. А. Милованова, А. А. Милованов, А. И. Милованов - Иркутск: МИНТРАНС РФ, 2000. - С. 166-173.
- Милованова Е. А. Новая стратегия освоения транспортного пространства Сибири, Дальнего Востока и Севера страны / Труды междунар. форума по проблемам науки, техники и образования. АНЗ. «III ТЫСЯЧЕЛЕТИЕ - НОВЫЙ МИР» / Е. А. Милованова, А. А. Милованов, А. И. Милованов. - М.: Академия наук о Земле, 2009. - С. 11-13.
- Милованова Е. А. Поиск новых путей развития / Е. А. Милованова, А. А. Милованов, А. И. Милованов //«Мир транспорта». - М.: МГУПС (МИИТ), 2009. № 4 (28), - С. 36-43.
- Milovanova E. A., Milovanov A. A., Milovanov A. I. / In search of new ways of railway transport development in Russian fast Trans-Urals/ Korea Russia joint conference for Euro-Asian trunk-railway problems and prospects. KAIA/ KRRI/ SeoulTech/ Irkutsk State Transport University. Seoul-Irkutsk, 2015. - рр. 126-133.
Supplementary files









