High-speed container transport system
- Authors: Kireev A.V.1, Kozhemyaka N.M.1, Kononov G.N.1
-
Affiliations:
- Closed Joint-Stock Company “Scientific and Technical Center “PRIVOD-N”
- Issue: Vol 4, No 2 (2018)
- Pages: 5-18
- Section: Review
- URL: https://journals.eco-vector.com/transsyst/article/view/10173
- DOI: https://doi.org/10.17816/transsyst2018425-18
- ID: 10173
Cite item
Full Text
Abstract
Background: The new scope of application for vehicles equipped with magnetic suspension is the fright container transportation. In order to realize the transit potential of the country, the increase in mean speed of the container trains is required.
Aim: The present work aims to explore the possibilities to develop the high-speed transport system equipped with magnetic suspension for container transportation along Euro-Asian land bridge.
Methods: As the research tools used methods of situational analysis, computer modeling, transport geography, technical and economic analysis.
Results: The market analysis results of the transit container transportation have shown that the major challenge for Russian transit development is the constrained traffic capacity of the existing transport corridors. The drastic solution to the problem can be the construction of a new high-speed transport system. The following factors determining the conditions for the creation of the new transport system have been identified: use of transport possibilities of the Azov-Black Sea basin; ensuring accessibility of the northern territories; development of technical solutions for the creation of a transport system with low-cost infrastructure. The combined traction levitation system has been developed based on the extremely simple design of the linear switched reluctance motor. The experimental researches of the full-functional physical model of the transport platform have been performed. The assessment of investment project efficiency has shown that despite the large start-up investment in the track infrastructure, the project has positive economic effect.
Practical importance: The computer model of the combined traction levitation system based on the linear switched reluctance motor has been designed. The concept of constructing a new transport system is proposed, taking into account the characteristics of the proposed operational region in poorly developed territories. The high-speed route has been proposed connecting the Azov-Black sea basin with the Pacific coastline and completely passing through the territories of Russia including some northern regions. The transit potential assessment has shown that due to the transit time reduction it is possible to attract the container freights with traffic volume of 1,52 million in twenty-foot equivalentunit.
Full Text
INTRODUCTION
The general tendency for the development of the world transport system is the acceleration of the transport process, achieved by the formation of transport corridors, improvement of the transport and logistics structure of transportation, and the increase of speed transport modes [1].
The new scope of application for vehicles equipped with magnetic suspension is the fright container transportation. In order to realize the transit potential of the country, the increase in mean speed of the container trains is required.
New application of magnetic levitation transport systems (MLTS) in the sphere of freight transportation requires reconsideration of concept of its construction taking into account the properties of the area intended for operation.
The railway transport development strategy up to 2030 has special chapter for transit container transportation [2]. The territory of the Russian Federation is a natural bridge connecting Europe and Asia-Pacific Region states. For realization of transit potential of the country, the task is set to increase container trains speed. Now, the development of transport area is conducted at the expense of liquidation of gaps and “narrow sections” by virtue of reconstruction and construction of separate sections of transport network. The main project is considered to be construction of high-speed railway for accelerated delivery of containers from China, Central Asia and Eastern Europe to Europe – the Trans-Eurasia Container Mainline. This mainline will enable organization of container transportation with the speed of 140-160 km/h, ensure release of carrying capacity of Russia Far East railways.
Meanwhile, the idea of establishment of Eurasian Land Bridge deploying magnetic suspension technology [3]. However, until now no researches had been carried out to access capabilities of MLTS-based container transportation on the Eurasian Land Bridge.
The purpose of the work consists in studying the possibility of creating high-speed transport system with magnetic suspension for container transportation on Eurasian Land Bridge.
1. SETTING TASK
The basic tasks that were solved during the research are as follows:
- – assessment of container transportation market situation;
- – identification of factors that determine the conditions for the creation of a new transport system;
- – forecasting the volumes of container transit traffic of a new high-speed transport system;
- – identification of factors determining the route of the line;
- – research of technical solutions ensuring realization of the project.
2. MATERIALS AND METHODS OF RESEARCH
As an instrument of research, the situation analysis methods were used, computer modelling, transport geography, technical and economic analysis.
3. RESULTS
3.1. Assessment of container transportation market situation
Today, most of the cargo transported from Asia to Europe and back is carried by sea, which is associated with a sharp increase in container freight turnover between the two continents. The second place in the cost volume of supplies is air transport. The list is closed by railway transport.
The biggest problem that exists in Euro-Asian maritime transport is related to very long shipment time. An alternative to maritime transport is land transportation, which can meet a significant part of the expected additional demand for transport services in the future. Distances by land between Europe and Asia are generally shorter than the distances by sea, especially if the points of departure and destination of the cargo lie deep in both continents.
Railway transport is becoming an optimal way of ensuring connections between ports and inland regions of a continent. Efficient operation of such railway routes as the Trans-Siberian Railway and the Trans-Asian Railway through China will enable creation of additional passage capacity, making it possible to form the niche demand for enhanced transportation [4].
Today, the journey speed of container trains along the Trans-Siberian Railway is 1550 km per day. This is achieved, mainly, by increasing the journey speed by reducing the number and duration of technological operations with train units, which undoubtedly increases the competitiveness of this type of transportation. At the same time, the desire to achieve the maximum possible technical speed is limited by the loss of the rest of the freight traffic along the Trans-Siberian Railway.
The assessment of transit potential of the Russian Federation in terms of goods traffic between Asia and the EU indicates that the at the expense of transit time by 25–30 % the sea way goods can be taken as well. The total share of land Eurasian transport can be increased from 1.9 to 18.5 %.
A cardinal solution to the problem might become the construction of new rapid transport system with containers carried at least 2500 km per day.
The new transport system can facilitate the release of the capacity of railways for freight traffic, direct uninterrupted communication between Europe and Asia, and, if properly routed, can ensure the availability of transportation services for carrying goods in the Far North, Siberia, the Far East and remote regions of Russia.
3.2. Factors determining the conditions of creation of new transport system
Geopolitical factor. In the forming geopolitical realities, it is reasonable to consider the issue of Russia’s using the transport strategic capacities of the Azov and Black Sea Basin in the long run [5]. Besides, to decrease political risk, it would be highly advisable to have the entire route laid on the territory of one country, for example with the starting points on Russia’s Pacific coast and terminal points in logistical centers of the Azov and Black Sea Basin.
Northern territories’ transport accessibility factor. There is a strategic need of priority construction of new extended lines in the poorly developed Northern regions of the country, for example north to the TSR and Baikal-Amur Mainline where the prospective natural resources can be found [6].
Technical and economic factor. Vast territory and high unit cost of MLTS flyover dictates demand in realization of minimum distance when choosing the route. Unlike conventional railways, a MLTS flyover does not require cleaning taiga territories, levelling the ground, bypassing natural obstacles. The flexible inclusion of the structure into landscape is ensured, creating prerequisite for straightening the track.
Taking into account the main factors determining the proposed route, we can outline the following route: the starting point is on the Pacific coast; the terminal point is one of the ports of the Azov and Black Sea basin. The southern ports of Russia are at the crossroads of the world trade routes, several transport corridors pass through them, in addition, it is the shortest way from the largest industrial centers from Russia to Europe, the countries of the Middle East, and Asia.
As the starting point of the route on the Pacific coast, we can choose the seaport of Vanino. It is a transport hub connecting railway, sea and road routes. Through Vanino shipments are delivered to the northeast regions of Russia, Japan, South Korea, China, Australia, the USA and other countries. The favorable geographical location of the port opens the way to the sea for cargoes travelling along the Baikal-Amur and Trans-Siberian railways.
The prospective route of the MLTS route is characterised by a very large length (approximately 7 000 km), potentially has a significant range of variation, the width of which can be several hundred kilometers, depending on the terrain features, geotechnical conditions, location of favourable crossings of broad rivers, and also from seismic and other unfavourable conditions on the sections of the direction of the mainline.
The route takes into account key factors: it connects the Azov and Black Sea basin with the Pacific coast, completely passes through the territory of the Russian Federation, including northern territories (up to 60° N), and its length is 25 % shorter than the length of existing routes.
3.3 Technical realization of the transport system
The critical need in creation of high-speed freight transportation systems, having a separate flyover route, generates the task to search for technical solutions, enabling us to decrease costs for construction and maintenance of MLTS.
The proposed route passes through remote low-accessible areas (water barriers, mountain ranges, wetlands, etc.) with a cold climate. In these conditions, transport systems with low-cost infrastructure and technical solutions are needed to ensure uninterrupted traffic on the mainline.
In Russia, Ltd. “PRIVOD-N” within the Federal Target Programme is developing transport system elements with magnetic suspension aimed at transporting goods through poorly developed northern territories.
The developers of the project have formulated a working hypothesis about construction of simple combined traction and levitation system on the basis of the switched reluctance motor, capable to simultaneously ensure levitation, traction and stabilization. This combined traction and levitation system enables using the passive discrete guideway with decreased materials consumption.
The functional scheme of the combined traction and levitation system, arranged on the basis of the switched reluctance motor, is shown in the Fig. 1.
Fig. 1. Functional system of combined traction and levitation system
The system of operation 1 generates commutation function K(t), operating switches of power keys of converter 2. Under the influence of the supply voltage Ud, the converter 2 generates phase currents ik in the windings of the traction and levitation module 3. This generates the traction force Fx and the lifting force Fz. Under the action of the traction force Fx, the object moves at a speed Vx, overcoming the resistance to movement fx (block 4). Lifting force Fz provides levitation of the object, compensating the weight of the object P and the action of the disturbing forces fz (block 5). Under the action of these forces, the object moves in the vertical direction at a speed Vz. The gap signal z is formed at the output of the unit 6 by integrating the vertical travel speed Vz, is compared with the set value zset in the block 7, and the error signal Δz is supplied to the input of the control system. In addition, when forming the switching function K(t), the signals Vx, Vz, ik and the speed reference signal Vx set are used.
A peculiarity of the mathematical model of the combined traction and suspension system is the description of the linkage of the phase contour as a function of three variables:
, (1)
where ik – contour current;
x – horizontal motion coordinate;
z – vertical motion coordinate.
Generally, the mathematical model shows the system of equations describing:
– current balance in electromagnetic contours;
– electromechanical energy converters processes;
– object motion equations.
(2)
where ik – electromagnetic contour current;
x – horizontal motion coordinate;
z – vertical motion coordinate;
Ψk – electromagnetic contour linkage;
k – number of electromagnetic contour;
b – number of electromagnetic contours;
g – gravitational acceleration;
m – weigh of levitated object;
R – active resistance of contour;
uk – voltage applied to the electromagnetic contour;
Fx – horizontal force generated by electromagnetic contour;
Fz – vertical force generated by electromagnetic contour;
fx – force of resistance to motion;
fz – disturbing action.
On the basis of mathematical model of traction and levitation system, its computer realization in the graphical environment of imitation modelling Simulink has been developed. The computer model enables conducting modelling of dynamic regimes of the work.
The Fig. 2 shows results of modelling of electromechanical processes in traction and levitation system. The oscillograms of instant values of phase currents in traction and levitation module windings, instant force values on the coordinates x, y, z. Phase currents are formed in such a way that the total lifting force produced by the phase contours provides levitation of the object, and the total traction force − the predetermined speed.
Fig. 2. Electromechanical processes oscillograms in traction and levitation system
The picture shows that when a disturbance on the coordinate y acts, a lateral displacement force Fy appears, which provides a course stabilization of the moving object.
Based on the results of computer simulation of processes in the combined traction and suspension system, the main technical solutions were developed. For experimental verification of the concept, a full-featured physical model of the transport platform was made and experimental studies of the system were carried out.
The main purpose of the experiment was to test the possibility of combining the functions of levitation and traction. The similarity of the processes taking place in the physical model is ensured by the similarity of the configuration of the magnetic system of the model of the traction and levitation module made on a scale of 1:7, the identity of the topology of the schemes of power converters of the model and the object, the identity of the control algorithms with the structure of the control system. The transport platform is equipped with four traction and levitation modules.
The Fig. 3 shows functional scheme of the module. Windings L1, L2, L3 of the module A1 are embedded into the power scheme of push–pull converter UZ1–UZ3, which are powered by accumulator battery G1. The control system forms algorithms of commutation of power keys VT1, VT2, converters UZ1–UZ3, ensuring levitation of the object and its linear motion along the guideway.
The input of the control system receives signals proportional to the currents in the windings Ia1, Ib1, Ic1 from the current sensors ТА1–ТА3, the air gap δ1 from the gap sensor В1, and also the logic signals fixing the position of the poles of the module magnetic system relative to the track elements from the block of position sensors BL1–BL3.
Fig. 3. Functional scheme of the module
In terms of construction, the traction and levitation module is fully autonomous and may be adapted to various construction forms of the transport platform.
The Fig. 4 shows the general view of the physical model of the transport platform.
Fig. 4. General view of the physical model
The model has four traction and levitation modules, installed on the transport bogie; a platform on which electrical equipment is installed; additional technological platform on which cargo is installed during experiments.
During the experiments, the model was given a levitation regime. To achieve this, the windings of traction and levitation modules were supplied with DC, adjustable in magnitude as a function of the magnitude of the air gap between the module poles and the track elements. Further, the drive system was started, at which the currents in the phase windings were switched by the signals of the position sensors. The transport platform moved contactlessly along the track structure all this time.
The Fig. 5 shows oscillograms of electromechanical processes during transition of traction and levitation system from levitation regime to levitated motion regime. The oscillograms show the phase currents of the modules I1a–I4с, the signals of the gap sensors δ1–δ4, the signals of the position sensors Da, Db, Dc. The research of the physical model of the transport system has proved its working status [7].
After the research, the construction concept of freight magnetic levitation transport system was proposed for operation in poorly developed areas. The proposed MLTS should have passive guideway structure of flyover type and coupled stock consisting of autonomous platforms for carrying containers. Each platform is equipped with easily-dismounted traction and levitation modules and electric and chemical energy accumulators. Power supply of the rolling stock may be carried out both from autonomous power plants and contact network.
Fig. 5. Electromechanical processes oscillograms
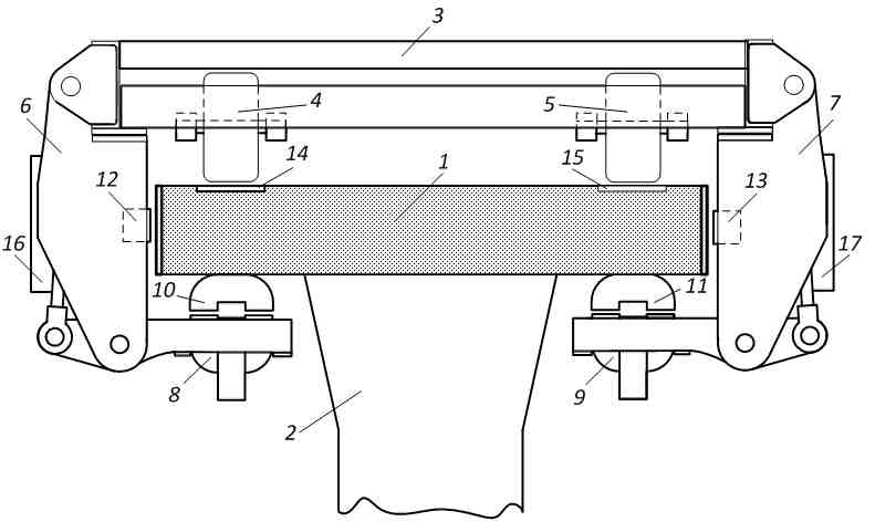
The Fig. 6 shows cross-sectional view of the transport platform.
Fig. 6. Cross-sectional view of the transport platform
The Fig. 6 shows: guideway 1, resting on support 2; transport platform 3, equipped with wheel blocks 4 and 5 for moving platform along the guideway; transfer units 6 and 7, connecting stators of linear motors 8 and 9 and transport platform 3; rotor elements 10 and 11, installed in a row on the guideway 1 with the step equaling pole pitch of linear motor; rollers 12, 13 limiting lateral displacement of the platform. The surface of the guideway 1 has steel plates 14, 15 which serves as the groove for wheels 4 and 5 of the platform 3.
When current pulses are directed to the windings of the stators of linear motors from the converter devices 16, 17, a force interaction of the U-shaped magnetic circuits of the stator and the rotor occurs via an adjustable air gap. A traction, lifting and lateral stabilizing force is created, which is transmitted through the transfer units to the transport platform. This ensures a non-contact motion of the transport platform along the track structure.
A container train consisting of the 22 transport platforms described above with a total mass of 1.800 tonnes can transport 43 units of a 40-pound container at a speed of 180 km/h. The speed of motion of container cargo is not less than 3600 km/day. To realise the designed annual volume of transit container traffic of 1.52 million TEU, it is necessary that container trains follow with an interval of approximately 0.5 hours (49 container trains per day).
At the same time, 156 container trains must be simultaneously on the line in both directions. The park of transport platforms should be 3432 units (excluding reserve).
Thus, the proposed concept of constructing a high-speed container train is physically feasible and provides the forecasted annual volume of transit container traffic.
CONCLUSION
The development of the transport infrastructure of the Russian Federation is connected with the geographical location of the country as a natural transport corridor connecting the European and Asian-Pacific regions. The creation of a high-speed Euro-Asian transport system complies with the directive documents relating to the transport strategy of the Russian Federation for developing the potential of Euro-Asian transport links and transit freight.
The transport system can be implemented on the basis of modern magnetic levitation technology, which allows significant reducing operating costs, and, consequently, transport costs, due to contactless running of the transport platform along the track structure.
The new transport system will facilitate the release of the capacity of railways for freight transport, the direct transfer of cargo between Europe and Asia, and, if properly routed, will ensure the availability of transport services for the transportation of goods in the Far North, Siberia, the Far East and remote regions of Russia.
About the authors
Alexander V. Kireev
Closed Joint-Stock Company “Scientific and Technical Center “PRIVOD-N”
Author for correspondence.
Email: akireev@privod-n.ru
ORCID iD: 0000-0003-1157-2402
SPIN-code: 9674-4388
Candidate of Technical Sciences, Associate Prof.
Russian Federation, 346428, Rostov region, Novocherkassk, Krivoshlykova St., 4a.Nikolay M. Kozhemyaka
Closed Joint-Stock Company “Scientific and Technical Center “PRIVOD-N”
Email: nkozhemyaka@privod-n.ru
ORCID iD: 0000-0002-3976-7546
SPIN-code: 7921-4510
Candidate of Technical Sciences
Russian Federation, 346428, Rostov region, Novocherkassk, Krivoshlykova St., 4a.Gennady N. Kononov
Closed Joint-Stock Company “Scientific and Technical Center “PRIVOD-N”
Email: gkononov@privod-n.ru
ORCID iD: 0000-0002-5511-9311
SPIN-code: 9565-6740
Russian Federation, 346428, Rostov region, Novocherkassk, Krivoshlykova St., 4a.
References
- Владимиров С.А. Мировая транспортная система и логистика: основные направления развития // Региональная экономика и управление: электронный научный журнал. – 2016. – №2(46). – С. 13–21. Режим доступа: http://eee-region.ru/article/4602/ Дата обращения: 17.07.2018. [Vladimirov SA. The global transport and logistics system: main areas of development. Regional economics and management: electronic scientific journal. 2016;2(46):13-21. Available from: http://eee-region.ru/article/4602/ (in Russ). Accessed July 17, 2018].
- Мишарин А.С. Транспортная стратегия Российской Федерации: цели и приоритеты // Инновационный транспорт. – 2015. – № 1(15). – С. 3–7. [Misharin AS. Transport Strategy of the Russian Federation: goals and priorities. Innotrans. 2015;1(15):3-7. (In Russ.)].
- Tennenbaum J. The New Eurasian Land-Bridge Infrastructure Takes Shape. Executive Intelligence Reviev. 2001;28(42):17-41. Available from: http://www.larouchepub.com/eiw/public/2001/eirv28n42-20011102/eirv28n42-20011102_016-the_new_eurasian_land_bridge_inf.pdf
- Euro-Asian Transport Linkages. Expert Group Report. United Nations Economic Commission for Europe (UNECE). 2012. Available at:
- http://www.unece.org/fileadmin/DAM/trans/main/eatl/docs/EATL_Report_Phase_II.pdf Accessed July17, 2018.
- Раровский П.Е. Российский экспорт транспортных услуг в современных условиях // Российский Внешнеэкономический Вестник. – 2016 – №5 – С.116–121. [Rarovskiy PE. Russia’s exports of transportation services in contemporary conditions. Russian Foreign Econ. Bull. 2016;(5):116-131. (In Russ.)].
- Копыленко В.А., Быков Ю.А., Турбин И.В., Космин В.В. Расширение сети железных дорог в малоосвоенных регионах России – одна из важных задач развития железнодорожного транспорта страны в XXI веке // Наука и транспорт. Модернизация железнодорожного транспорта. (Прил. к журн. Транспорт Российской Федерации). – 2008. – № 4. – С. 4–7. [Kopylenko VA, Bykov YA, Turbin IV, Kosmin VV. Expansion of the network of railways in the underdeveloped regions of Russia is one of the important tasks of the development of the country's railway transport in the 21st century. Sci. and Transp. Modernization of Transport Russian Federation. 2008;(4):4-7. (In Russ).].
- Kireev AV., Kononov GN, Lebedev AV. Starting operating mode of the combined traction levitation system of the vehicle equipped with magnetic suspension Int. J. Power Electronics and Drive System (IJPEDS), 2017;8(1):176-183. doi: 10.11591/ijpeds.v8i1.pp176-183
Supplementary files









