Technological solutions for the construction of road structures from eps-blocks
- Authors: Filippov D.A.1, Yermoshin N.А.2
-
Affiliations:
- Military Academy of Logistics
- Peter the Great St. Petersburg Polytechnic University
- Issue: Vol 10, No 1 (2024)
- Pages: 110-124
- Section: Original studies
- URL: https://transsyst.ru/transj/article/view/624992
- DOI: https://doi.org/10.17816/transsyst624992
- ID: 624992
Cite item
Full Text
Abstract
Aim. This study aims to develop technological solutions for constructing road structures from EPS blocks for building embankments on soils with low load-bearing capacity.
Methods. The justification of the considered solutions is based on the application of network optimization methods and experimental studies.
Results. An original design of technological equipment is proposed to increase the efficiency of road construction works.
Conclusion. The mobile complex for the production of polystyrene foam blocks can be used for the construction of highways in remote areas with unfavorable soil and hydrological conditions and for the restoration of highways in the aftermath of natural and human-made emergencies.
Full Text
ВВЕДЕНИЕ
Одним из условий успешного освоения и развития отдаленных регионов России является наличие транспортных коммуникаций, в особенности – автомобильных дорог, которые необходимы для доставки материальных средств жизнеобеспечения людей, продукции производственно-технического назначения, технологического оборудования на формируемые производственные предприятия и т.д. При этом главной проблемой транспортного строительства в этих регионах становится отсутствие технических и технологических решений по строительству автомобильных дорог в короткие сроки при минимизации затрат ресурсов в сложных природно-климатических и грунтово-геологических условиях [1].
ПРЕДПОСЫЛКИ ДЛЯ РАЗРАБОТКИ И ВНЕДРЕНИЯ НОВЫХ ТЕХНОЛОГИЙ
Практика освоения нефтегазовых месторождений и других природных ресурсов, а также строительство новых населенных пунктов и промышленных предприятий свидетельствует о сложности организации строительства автомобильных дорог в условиях значительного удаления от стационарных объектов производственной базы дорожного хозяйства. В этих условиях необходимо привлечение дополнительных ресурсов для транспортирования дорожно-строительных материалов и конструкций к объектам производства работ. Естественным способом сокращения сроков дорожного строительства и затрат на выполнение дорожно-строительных работ является разработка технических и технологических решений по созданию мобильных дорожно-строительных комплексов, комплектов машин и оборудования [2]. Для разработки таких комплексов должны применяться технические и технологические решения, позволяющие повысить прочностные характеристики и экономичность дорожных конструкций, на основе применения современных инновационных материалов.
Появление на рынке новых безопасных и экологичных дорожно-строительных материалов позволяет разрабатывать технологии их применения в дорожном строительстве. Одним из перспективных, относительно новых, но уже хорошо зарекомендовавших себя, материалов, является пенополистирол [3, 4]. Это жесткий пенопласт, обладающий уникально низкой удельной плотностью (20 … 65 кг/м3), достаточной прочностью и долговечностью. Наряду с геосетками, геотекстилем и геомембранами пенополистирол относится к категории геосинтетических материалов. Однако, его производство организовано на стационарных предприятиях, расположенных в крупных промышленных центрах, что затрудняет его использование при строительстве новых участков дорог на удаленных территориях.
Более того, благодаря своим физико-механическим свойствам пенополистирол является перспективным материалом для восстановления участков автомобильных дорог, разрушенных в результате воздействия техногенных и природно-климатических факторов.
Для разработки технологических решений по возведению дорожных конструкций из EPS-блоков и ХPS-плит необходимо рассмотреть эксплуатационные свойства и физико-механические характеристики пенополистирола. Они приведены в Табл.
Таблица. Характеристики изделий из пенополистирола [5, 6]
Table. Characteristics of products made of polystyrene foam [5, 6]
Наименование показателя | Единицы измерения | Величина показателя | |||
EPS-блоки Тhermit | ХPS-плиты тип 45 | ХPS-плиты тип 75 | |||
Плотность | кг/м3 | 5–50 | 40–47 | 40–53 | |
Прочность на сжатие при 10% линейной деформации | МПа | 0,1–0,5 | 0,5 | 0,7 | |
Предел прочности при изгибе, не менее* | МПа | 0,2–0,6 | 0,35–0,7 | 0,35–0,7 | |
Модуль упругости | МПа | 18 | 18 | 20 | |
Водопоглощение за 24 часа, не более | % по объему | 0,2–0,4 | 0,3 | 0,2 | |
Коэффициент паропроницаемости | мг/(м ч Па) | 0,08 | 0,006 | 0,006 | |
Коэффициент теплопроводности | Вт/(м °С) | 0,025–0,03 | 0,030 | 0,033 | |
Температурный диапазон эксплуатации | °С | -50….+80 | -50….+75 | ||
Стандартные размеры | длина | мм | 3000; 5000 | 2400;4000; 4200;4500 | 2400 |
ширина | мм | 1000; 1200 | 600 | 600 | |
толщина | мм | 600; 1000 | 40; 50;60;80; 100 | 40; 50;60;80; 100 | |
* зависит от толщины плиты (блока)
Анализ данных таблицы показывает, что ХPS-плиты целесообразно использовать для устройства основания дорожных одежд, а EPS-блоки – для возведения легких насыпей земляного полотна на грунтах со слабой несущей способностью [7].
В связи с тем, что технология производства работ должна базироваться на разработке проектов дорожных конструкций, необходимо учитывать общие принципы их проектирования [8]. Главный принцип конструирования и расчета легких насыпей заключается в снижении удельной нагрузки на слабое основание за счет уменьшения веса дорожной конструкции. Уменьшение нагрузки может быть достигнуто применением для ее устройства материалов, имеющих значительно меньшую плотность, чем грунт.
Расчет устойчивости основания, при строительстве легких насыпей, выполняют исходя из условия, что расчетная нагрузка от тела насыпи должна быть меньше или равна безопасной нагрузке на основание [9]:
, (1)
При этом, безопасную нагрузку на основание можно определить по формуле:
, (2)
где – средневзвешенный удельный вес насыпи, при котором обеспечивается выполнение условия (1); – расчетная высота насыпи, которая определяется в соответствии с требованиями руководящих документов [10, 11].
На рис. 1 приведена принципиальная схема конструкции легкой насыпи с использованием EPS-блоков.
Рис. 1. Принципиалная схема конструкции легкой насыпи с использованием EPS-блоков: 1 – дорожная одежда; 2 – EPS-блоки; 3 – присыпные обочины из привозного песчаного грунта; 4 – местный грунт со слабой несущей способностью; hн – высота насыпи
Fig. 1. Schematic diagram of the design of a light embankment using EPS blocks: 1 – road clothing; 2 – EPS blocks; 3 – powdered shoulders made of imported sandy soil; 4 – local soil with weak bearing capacity; hн – embankment height
Представленная схема позволяет утверждать, что около 2/3 тела легкой насыпи составляют EPS-блоки. Это говорит о потребности в большом количестве данного материала, а также необходимости максимального приближения его производства к участкам строительства легких насыпей.
ОПИСАНИЕ МОБИЛЬНОГО КОМПЛЕКСА
Для разрешения указанной проблемы предлагается использование мобильного комплекса по производству дорожных конструкций из пенополистирола. Предлагаемый комплекс запатентован [12] и представляет собой технологическую линию, позволяющую производить блоки экспандированного пенополистирола (EPS-блоки), имеющие требуемые физико-механические характеристики и геометрические параметры.
Комплекс может использоваться для производства EPS-блоков в условиях отсутствия стационарной электросети, когда производство необходимо максимально приблизить к объекту выполнения строительных работ. В частности, для строительства дорог на заболоченной местности, восстановления разрушенного земляного полотна автомобильных дорог, сооружения оперативных проездов и временных технологических дорог на слабых грунтах, а также в арктической и субарктической климатических зонах. Перспективным направлением использования EPS-блоков является их применение для восстановления автомобильных дорог при ликвидации последствий чрезвычайных ситуаций и в военное время, когда сроки выполнения восстановительных работ крайне ограничены, а электроэнергия в стационарной сети отсутствует, либо подается с перебоями [1].
В предлагаемом мобильном комплексе для производства дорожных конструкций из пенополистирола технологическое оборудование устанавливается на быстросъемные платформы и перевозится на трех автомобилях повышенной проходимости (для обеспечения доставки оборудования в районы со сложными погодно-климатическими условиями и слабо развитой дорожной сетью) и трех прицепах (рис. 2).
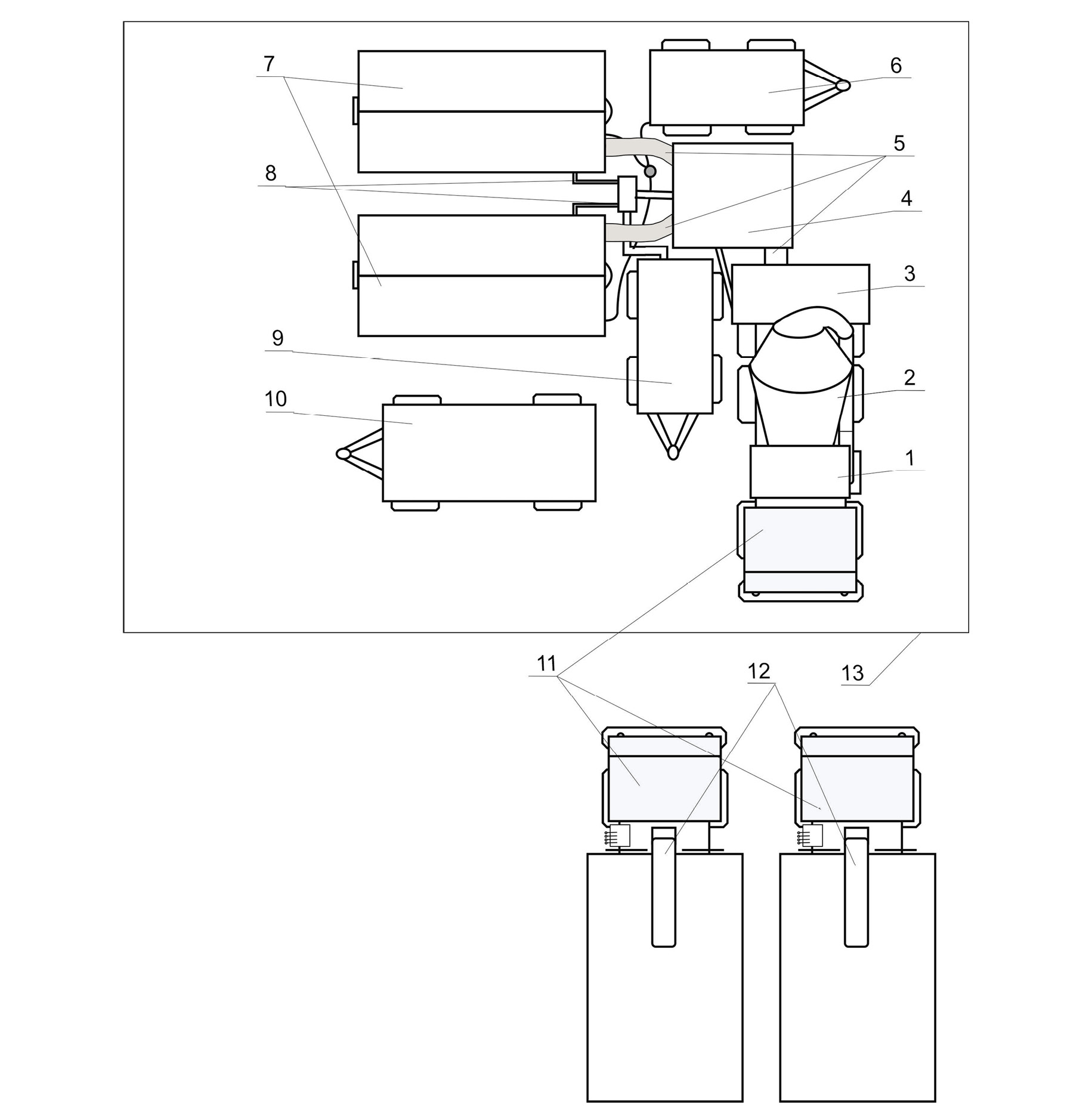
Рис. 2. Схема мобильного комплекса по производству блоков пенополистирола: 1 – емкость для исходного материала с дозатором гранул полистирола; 2 – рабочая камера для вспенивания гранул, с емкостью для воды и механизмом ее подачи; 3 – камера сушки и охлаждения; 4 – бункер для вылеживания гранул; 5 – материалопроводы; 6 – дизельная электростанция; 7 – блок-формы; 8 – пневмотрубопроводы; 9 – компрессорная станция (источник сжатого воздуха); 10 – прицеп для транспортировки каркаса с тентом и оборудования; 11 – автомобильные шасси; 12 – кран-манипулятор; 13 – тентованное производственное помещение
Fig. 2. Scheme of a mobile complex for the production of polystyrene foam blocks: 1 – container for starting material with a dispenser of polystyrene granules; 2 – working chamber for foaming granules, with a container for water and a mechanism for supplying it; 3 – drying and cooling chamber; 4 – bunker for aging granules; 5 – material pipelines; 6 – diesel power plant; 7 – block forms; 8 – pneumatic pipelines; 9 – compressor station (source of compressed air); 10 – trailer for transporting the frame with an awning and equipment; 11 – automobile chassis; 12 – crane-manipulator; 13 – tented production room
На шасси (первого автомобиля) крепится платформа с оборудованием для вспенивания и стабилизации гранул пенополистирола. В состав оборудования входят: емкость для исходного материала с дозатором гранул, выполненная в виде бункера; рабочая камера для вспенивания гранул; струйный насос с разъемами для подключения пневмотрубопроводов от источника сжатого воздуха и материалопроводов, а также камера сушки и охлаждения с регулируемой заслонкой. При этом, рабочая камера для вспенивания гранул имеет встроенную емкость для воды с механизмом ее подачи, сверхвысокочастотный нагреватель и механизм для перемешивания гранул в ходе приготовления.
На быстросъемных платформах второго и третьего автомобилей устанавливаются блок-формы для изготовления блоков пенополистирола. Такие автомобили оборудуются краном-манипулятором, который позволяет снимать и устанавливать платформы с производственным оборудованием на шасси мобильного комплекса.
В качестве источника сжатого воздуха используется компрессорная станция производительностью 5,6 м3/мин, а в качестве источника питания – дизельная электростанция 380 В, мощностью 30 кВт, смонтированные на двух прицепных шасси.
Третий прицеп рассчитан под перевозку элементов каркаса и тента для оборудования производственного помещения под размещение мобильного комплекса. Кроме того в прицепе транспортируются составные части сборно-разборного бункера вылеживания гранул, а также материалопроводы, пневмотрубопроводы с регулируемыми заслонками, элементы кабельной сети и другое технологическое оборудование.
ОБОСНОВАНИЕ ПРЕДЛОЖЕННОГО РЕШЕНИЯ
Основным преимуществом предлагаемого комплекса для производства дорожных конструкций из пенополистирола является его мобильность и автономность. Использование в качестве базового шасси автомобилей повышенной проходимости позволяет обеспечить его перемещение в условиях бездорожья, а наличие в составе комплекса электростанции не требует его подключения к стационарным источникам электрической энергии. При этом, производственное оборудование располагается на быстросъемных платформах, что позволяет без особых усилий и затрат времени снимать его с шасси и устанавливать обратно на время транспортировки. Последнее обстоятельство позволяет, после демонтажа технологического оборудования, высвободить два грузовых автомобиля повышенной проходимости, оборудованные кранами-манипуляторами, которые можно использовать для погрузки и доставки изготовленных комплексом EPS-блоков непосредственно на место их укладки.
В отличие от существующих технологий производства пенополистирола предлагается новый способ вспенивания гранул пенополистирола. Преимущество такого способа заключается в том, что вспенивание гранул производят в поле СВЧ в вертикальной камере-волноводе под воздействием пара, образующегося во всем объеме между загруженными гранулами за счет испарения при нагреве СВЧ-излучением воды [13]. Указанный способ не требует использования внешнего источника пара, а оборудование для его реализации имеет габариты, допускающие возможность монтажа на автомобильное шасси.
Использование специальных замковых устройств для качественной фиксации и быстрого соединения материалопроводов, пневмотрубопроводов и элементов кабельной сети мобильного комплекса, повышает надежность его эксплуатации [14] и обеспечивает быстрый запуск производства после очередного перемещения.
Следует отметить, что известные линии для изготовления пенополистирола являются стационарными и требуют длительного процесса монтажа и настройки в случае перемещения производства [15].
Технология изготовления блоков из пенополистирола такова, что готовый блок превосходит по объему исходный материал, используемый на его изготовление в 20–30 раз. На основе данного факта становится понятно, что затраты времени и материальных средств на доставку исходного сырья для производства блоков к мобильному комплексу будут в десятки раз меньше, чем на доставку готовой продукции от стационарного производства к месту строительства. Это можно подтвердить несложными расчетами:
, (3)
где – общее время на восстановление участка дороги; – время на выполнение подготовительных работ; – время на доставку EPS-блоков; – время на укладку EPS-блоков; – время на завершение работ по восстановлению участка дороги.
При прочих равных условиях, основным показателем, который будет изменяться для стационарной установки и мобильного комплекса является – время доставки требуемого количества EPS-блоков, зависящее от величины плеча подвоза (рис. 3).
Рис. 3. График зависимости времени доставки EPS-блоков на объект строительства от удаленности производства
Fig. 3. Graph of the dependence of the time of delivery of EPS blocks to the construction site on the remoteness of production
Представленный график наглядно показывает, что использование мобильного комплекса значительно сокращает время на строительство (восстановление) участка автомобильной дороги на слабом основании.
Не менее важным обстоятельством, обуславливающим необходимость разработки и применения мобильного комплекса по производству дорожных конструкций из пенополистирола, является его более высокая экономическая эффективность по сравнению со стационарными технологическими линиями.
Это подтверждается результатами сравнительного анализа затрат при восстановлении (строительстве) участка дороги с использованием стационарной линии и мобильного комплекса.
Для сравнения рассматриваются суммарные затраты на производство и доставку готовых EPS-блоков.
, (4)
где – общие удельные затраты на восстановление участка дороги;
– суммарные удельные затраты на производство блоков пенополистирола;
– суммарные удельные затраты на доставку готовых блоков пенополистирола к месту строительства.
Зависимость этих затрат от объемов производства показана на рис. 4.
Рис. 4. График зависимости затрат от объемов производства
Fig. 4. Graph of the dependence of costs on production volumes
Как видно из рисунка функция общих затрат имеет точку оптимума соответствующую оптимальному объему производства EPS-блоков при минимальных суммарных затратах.
Сравнение этих затрат для стационарной линии и мобильного комплекса по предварительным расчетам позволяет сделать вывод о том, что применение мобильных установок для строительства и восстановления автомобильных дорог выгоднее с экономической точки зрения. Дополнительно к этому стоит учесть более короткие сроки доставки EPS-блоков и строительства дорожных конструкций в целом.
ЗАКЛЮЧЕНИЕ
Для окончательной разработки и внедрения мобильного комплекса по производству дорожных конструкций из пенополистирола в практику строительства, реконструкции и восстановления автомобильных дорог требуется проведение дальнейших теоретических и экспериментальных исследований. Основными задачами настоящих исследований является определение технических характеристик и параметров технологического оборудования для мобильных технологических линий по производству экспандированного пенополистирола, обоснование способов их применения в дорожном строительстве, оценка надежности работы мобильных комплексов в условиях возникновения чрезвычайных ситуаций, а также оптимизация технологий изготовления и транспортировки изделий на объекты выполнения работ.
Авторы заявляют что:
- У них нет конфликта интересов;
- Настоящая статья не содержит каких-либо исследований с участием людей в качестве объектов исследований.
The authors state that:
- They have no conflict of interest;
2. This article does not contain any studies involving human subjects.
About the authors
Dmitry A. Filippov
Military Academy of Logistics
Author for correspondence.
Email: ppdlx01@mail.ru
ORCID iD: 0009-0001-4272-4045
SPIN-code: 7923-7855
of the first author, Candidate of Sciences in Engineering
Russian Federation, Санкт-ПетербургNikolay А. Yermoshin
Peter the Great St. Petersburg Polytechnic University
Email: ermonata@mail.ru
ORCID iD: 0000-0002-0367-5375
SPIN-code: 6694-8297
of the second author, Doctor of Military Sciences, Professor
Russian Federation, St. PetersburgReferences
- Ermoshin NA, Egoshin AM, Lazarev JuG, et al. Problemy i metodologicheskie aspekty organizacyi dorojnoy deyatelnosti v interesah voennoy bezopasnosti gosudarstva. St. Petersburg: R-KOPI; 2017 (In Russ.)
- Ermoshin NA, Filippov DA. Tecnologiya scorostnogo vosstanovlenya zemlyanogo polotna avtomobilnyh i jeleznyh dorog. In: Proceedings of the International Scientific and Practical Conference “Transport Rossii: problemy i perspectivy”. 2018 November 13–14; St. Petersburg. St. Petersburg: SPb UGPS MChS RF; 2018:223–228. (In Russ.)
- Application of polystyrene foam blocks in road construction. [internet] Cited: 20.12.2023. Available from: http://dorhoz.ru/news/primenenie-blokov-iz-penopolistirola-v-dorozhnom-stroitelstve.php
- Geofoam – Structural Insulation Engineered Light Weight Fill Material. [Internet]. Cited: 20.12.2023. Available from: https://www.insulfoam.com/geofoam-structural-insulation/
- Expanded polystyrene foam [Internet] Cited: 20.12.2023. Available from: http://xn--80ajbnhehmdihidodj.xn--p1ai/catalog/teploizolyatsionnye_materialy/thermit_ ekstrudirovannyy_penopolistirol/
- Extruded polystyrene foam [Internet] Cited: 20.12.2023. Available from: http://www.penoplex.ru/products/
- Evtykov SA, Medres EP, Medres EE, et al. On the problem of design and calculation of lightweight embankment structures constructed of polystyrene foam blocks on soft soils. Vestnik AmGU. 2019;6(77):271–276. (In Russ). doi: 10.23968/1999-5571-2018-16-6-271-276
- GOSТ R 59172-2020 Dorogi avtomobilnye obschego polzovanija. Nasypi oblegchyonnyy i combinirovannyy iz vspenynnyh polistyrolnyh blokov (PPS blokov) Pravila projectirovanyja i primenenyja. (In Russ.) Cited: 20.12.2023. Available from: https://docs.cntd.ru/document/1200177512
- ОDМ 218.3.1.006-2021 Metodicheskye recomendacyy po proektirovaniju legkih nasypey na slabyh osnovanijah s primeneniem legkih geocompozicyonnyh materialov (In Russ.) Cited: 20.12.2023. Available from: https://rosavtodor.gov.ru/storage/app/media/uploaded-files/odm-21831006-2021.pdf
- SP 34.13330.2012 Avtomobilnye dorogi. (In Russ.) Cited: 20.12.2023. Available from: https://docs.cntd.ru/document/1200095524
- ОDМ 218.3.120-2020 Metodicheskye recomendacyy po raschetu nasypey avtomobilnyh dorog na slabyh gruntah osnovanija s primeneniem geosinteticheskih materialov. (In Russ). Cited: 20.12.2023. Available from: https://rosavtodor.gov.ru/storage/app/media/uploaded-files/odm-2183120-2020.pdf
- Patent RUS № 2687920 / 16.05.2019. Byul. № 14. Filippov DA, Ermoshin NA, Lazarev YG, et al. Mobilnyy kompleks po proizvodstvu blokov penopolistirola. (In Russ.) Cited: 20.12.2023. Available from: https://www.elibrary.ru/download/elibrary_38147228_43509347.PDF
- Patent RUS № 2446046 / 27.03.2012. Byul. № 9. Kapustin AI, Zolotovsky IO, Svetuhin VV, et al. Microvolnovyy sposob vspenivaniya penopolistirola. (In Russ.) Cited: 20.12.2023. Available from: https://www.elibrary.ru/download/elibrary_37762084_50559823.pdf
- Kravchenko IN, Adilhodjaev AI, Kondrashenko VI, et al. Injenernye metody povysheniya nadejnosti mashin i tehnologicheskogo oborudovaniya. Tashkent: Transport; 2021. (In Russ).
- Nasonov PA, Shadrin VS, Agapitov AI, et al. Extrudirovannyy penopolistirol v stroitelstve. In: Proceedings of the International Scientific and Practical Conference “Architekturno-stroitelnyy i dorojno-transportnyy complex: problemy, perspectivy, novacyi”. 2016 December 7–9; Omsk. Omsk: SibADI; 2016:300–305. (In Russ.) Cited: 20.12.2023. Available from: https://www.elibrary.ru/download/elibrary_28180281_97969949.pdf
Supplementary files








