Investigation of high-voltage discharge in oil on a simulator with a different set of defects
- Authors: Gorlov A.V.1, Volchanina M.A.1, Ponomarev A.V.1, Kuznetsov A.A.1
-
Affiliations:
- Omsk State Transport University
- Issue: Vol 9, No 1 (2023)
- Pages: 83-94
- Section: Original studies
- URL: https://transsyst.ru/transj/article/view/279657
- DOI: https://doi.org/10.17816/transsyst20239183-94
- ID: 279657
Cite item
Full Text
Abstract
Background: The article describes a device for simulating various insulation defects for use with acoustic control devices for power transformers included in the power supply system of railway transport. The parameters of the recorded signals of the simulator are given, which will make it possible to recognize various insulation defects when diagnosing power transformers under operating conditions which will help to avoid emergency modes and interruptions in the operation of the electric rolling stock of railways.
Aim: experimental studies of a simulator with a different set of defects, obtaining the values of the parameters of acoustic control signals for various defects in the insulation of power transformers.
Methods: experimental studies of automated means of acoustic control, development of technical means for simulating various defects in the insulation of power transformers, processing of acoustic control signals.
Results: the block diagram of the simulator with a different set of defects is given, the values of the parameters of acoustic monitoring signals for various defects in the insulation of power transformers are given.
Conclusion: the above device allows you to reproduce various defects in the insulation of power transformers, to recognize such defects according to the proposed parameters of acoustic control signals.
Full Text
ВВЕДЕНИЕ
Силовые трансформаторы (СТ) представляют собой один из основных элементов системы электроснабжения железных дорог, ввиду этого выявление предаварийных состояний СТ является актуальной задачей [1]. В процессе эксплуатации СТ необходимо обеспечивать его работоспособное состояние и предупреждать возможный выход из строя по причине быстроразвивающихся дефектов [2–4]. Состояние изоляции внутри маслонаполненного бака, как одного из определяющих параметров, напрямую связано с техническим состоянием силового трансформатора. Ухудшение изоляции в баке СТ происходит по причине механических, термических и электрических нагрузок [5, 6]. Воздействие повышенных нагрузок приводит к изменению теплового режима, возникновению и развитию разрядных процессов внутри изоляции СТ [7–10]. Разрядные процессы, как правило, развиваются постепенно во времени. Ввиду отсутствия технического обслуживания, первичные частичные разряды (ЧР), возникающие в твердой изоляции могут переходить в искровые разряды, и в дальнейшем данная деградация может приводить к дуговым разрядам, последствия которых могут быть необратимыми, и обязательно сопровождаются существенными материальными и временными потерями для ОАО «РЖД» [1].
Для недопущения описанных аварийных режимов работы, существуют, разрабатываются и функционируют различные методики диагностирования, в том числе направленные на определение состояния изоляции СТ. Основным применяемым на сегодняшний день методом диагностирования является хроматографический анализ газов, растворенных в трансформаторном масле, имеющий определенные недостатки – трудоемкость и длительность процесса диагностирования. Недостатки хроматографического анализа позволяет нивелировать метод с использованием акустического контроля развития разрядных процессов в изоляции силовых трансформаторов.
Диагностирование с использованием акустического контроля позволяет регистрировать разрядные процессы внутри изоляции СТ. После регистрации имеется возможность проведения качественного анализа по полученным сигналам с целью определения вида дефекта и степени его развития.
РАЗРАБОТКА ТЕХНИЧЕСКИХ СРЕДСТВ
Известно техническое решение [11], основанное на применении имитатора дефектов (ИД) акустического контроля, позволяющее провести снижение дополнительных погрешностей, вызываемых сезонными изменениями температуры, возможным изменением коэффициентов усиления измерительного тракта, и изменениями вязкости трансформаторного масла при проведении диагностирования. В данной работе предлагаются технические решения по совершенствованию метода акустического контроля с применением ИД, который заключается в возможности получения расширенного набора дефектов.
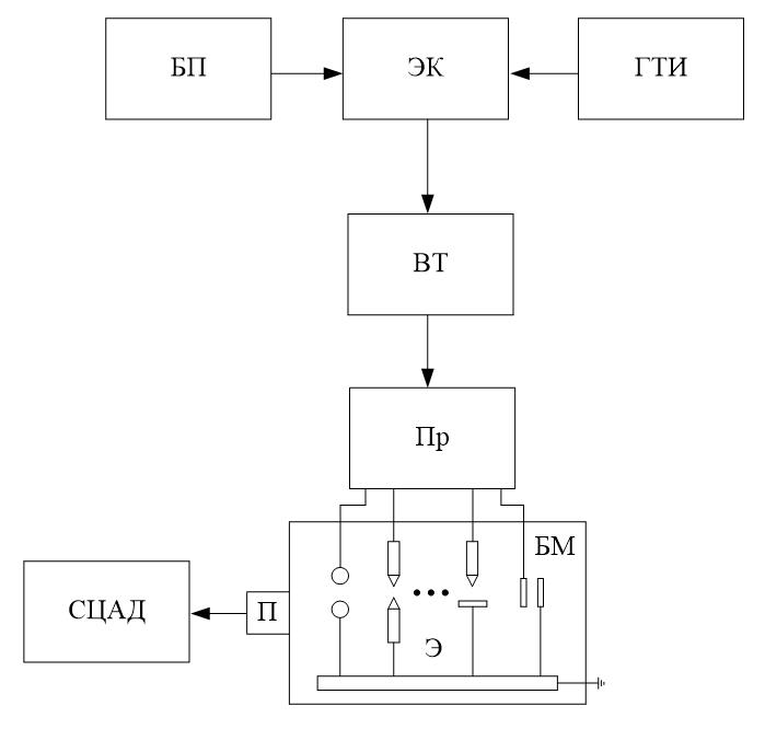
Структурная схема предлагаемого имитатора с различным набором дефектов представлена на Рис. 1.
Рис. 1. Структурная схема имитатора с различным набором дефектов
БП – блок питания; ЭК – электронный коммутатор; ГТИ – генератор тактовых импульсов; ВТ – высоковольтный трансформатор; СЦАД – система цифровая акустико-эмиссионная диагностическая; П – преобразователь акустический; Пр – переключатель;
Э – электроды; БМ – бак маслонаполненный.
Принцип действия данной схемы заключается в следующем. Генератор тактовых импульсов (ГТИ) генерирует импульсы низкого напряжения на электронный коммутатор (ЭК), который предназначен для прерывания тока в цепи первичной обмотки высоковольтного трансформатора (ВТ). Блок питания (БП) питает электронный коммутатор (ЭК), а так же вырабатывает импульсы напряжения для первичной обмотки высоковольтного трансформатора (ВТ). Ток высокого напряжения с частотой, вырабатываемой генератором тактовых импульсов (ГТИ), от вторичной обмотки высоковольтного трансформатора (ВТ) подается на один из электродов (Э) различной формы и степени изоляции, который выполняет роль электрического разрядника, выбор которого осуществляется переключателем (Пр). При выборе на переключателе (Пр) электрода определенной формы (Э) происходит выбор определенного вида дефекта.
Таким образом, реализуется имитатор с расширенным набором дефектов, сигналы от которого можно сравнивать с сигналами, полученными при акустическом контроле испытуемого силового трансформатора. Работа электрода возможна в различных средах – воздух или трансформаторное масло. Преобразователи акустические (П) предназначены для фиксации ЧР и их преобразования из акустической формы в электрическую. Система цифровая акустической диагностики (СЦАД) предназначена для регистрации электрических сигналов, поступающих от преобразователей акустических (П), их обработке и представлению в цифровой форме [12, 13].
На Рис. 2 показана схема расположения электродов в маслонаполненном баке.
Рис. 2. Схема расположения электродов в масляном баке
1 – корпус маслонаполненного бака; 2, 3, 4, 5 – электроды, имитирующие различные дефекты; 6 – провод; 7 – преобразователь акустический; 8 – изолятор; 9 – шина заземления.
Корпус маслонаполненного бака имитатора с расширенным набором дефектов выполнен из стали, при этом задняя и передняя стенки корпуса являются прозрачными для визуальной регистрации электрических разрядов, как видно по Рис. 2. К корпусу бака подключаются один из двух электродов разрядников различной формы и нулевой потенциал БП.
ЭКСПЕРИМЕНТАЛЬНАЯ ЧАСТЬ
Электроды различной формы позволяют воспроизвести различные дефекты изоляции, среди которых:
- дефекты металлических проводников различной формы;
- дефекты в изолированных проводниках с нарушением изоляции.
Дефекты металлических проводников различной формы позволяют исследовать разрядные явления в следующих элементах «игла – плоскость» (дефект 1), «шар – шар» (дефект 2), «проводники с нарушенной изоляцией» (дефект 3), «игла – игла» (дефект 4) [14, 15].
Дефекты, описанные выше, можно различать по параметрам сигналов разрядных процессов, зарегистрированных при помощи СЦАД. На Рис. 3–6 приведены осциллограммы нестационарных сигналов, полученные с использованием дефектов 1–4 соответственно.
Рис. 3. Осциллограмма нестационарного сигнала полученного с использованием электродов вида «игла – плоскость»
Рис. 4. Осциллограмма нестационарного сигнала полученного с использованием электродов вида «шар – шар»
Рис. 5. Осциллограмма нестационарного сигнала полученного с использованием электродов с «нарушенной изоляцией»
Рис. 6. Осциллограмма нестационарного сигнала полученного с использованием электродов «игла – игла»
Осциллограммы приведены по убыванию мощности разрядов, при одинаковых условиях воздействия на соответствующие электроды. Временные сигналы представлены на нижних графиках Рис. 3–6. По вертикальной оси отложены амплитуды сигналов в единицах АЦП, по горизонтальной – время в мкс.
Для правильного распознавания видов дефектов на силовых трансформаторах необходимо сравнить количественные оценки сигналов, полученных с использованием имитатора дефектов. Ниже приведены параметры, по которым выполнялось сравнение сигналов от различных дефектов.
Параметр Am – максимальная амплитуда сигнала в единицах АЦП, определяет мощность разряда. В своем большинстве акустические сигналы, возникающие вследствие электрических разрядов на представленных электродах имеют форму затухающих импульсов, с временем затухания ТЗ. Некоторые из них могут иметь интервал нарастания с временем Тн [16].
Для характеризации формы акустических сигналов в программном обеспечении была использована функция быстрого преобразования Фурье (FFT), представлено на верхних графиках Рис. 3–6. По вертикальной оси отложены амплитуды Аm, по горизонтальной – частота в кГц. На представленных спектрах выделены доминантные частоты Fд1, Fд2, Fд3.
Сводные данные по зарегистрированным сигналам с четырех дефектов приведены в Табл.
Таблица. Численные значения параметров акустических сигналов для электродов различной формы
№ деф. | Am, ед. АЦП | Tн, мкс | Тз, мкс | Fд1, кГц | Fд2, кГц | Fд3, кГц |
1 | 850 | 50 | 50 | 520 | 580 | 650 |
2 | 540 | 70 | 230 | 110 | 130 | 230 |
3 | 380 | – | 50 | 130 | – | – |
4 | 220 | 130 | 200 | 130 | 200 | – |
По полученным осциллограммам с использованием имитатора с различными видами дефектов можно сделать вывод о том, что мощность зарегистрированных сигналов убывает с увеличением номера дефекта (уменьшение параметра Am), различными являются так же параметры Тн, Тз, Fд1, Fд2, Fд3, таким образом, можно проводить качественный анализ и распознавать дефекты по приведенным параметрам зарегистрированных акустических сигналов.
РЕЗУЛЬТАТЫ
Приведена информация по разработке и экспериментальным исследованиям имитатора с различным набором дефектов изоляции силовых трансформаторов. Приведены зарегистрированные сигналы акустического контроля для различных дефектов изоляции, представлены их количественные параметры.
ВЫВОДЫ
Использование имитатора с различным набором дефектов позволит сопоставлять сигналы, измеренные на силовом оборудовании, с сигналами, полученными с использованием имитатора, это позволит определять не только наличие, но и виды дефектов в силовом оборудовании. Предложенные технические средства и приведенные параметры повысят достоверность диагностирования силовых трансформаторов в системе электроснабжения железнодорожного транспорта, принять своевременные меры по техническому обслуживанию или ремонту дорогостоящего оборудования.
БЛАГОДАРНОСТИ
Исследование выполнено за счет гранта Российского научного фонда № 23-29-00477, https://rscf.ru/project/23-29-00477/.
Авторы заявляют что:
- У них нет конфликта интересов.
- Настоящая статья не содержит каких-либо исследований с участием людей в качестве объектов исследований.
About the authors
Anton V. Gorlov
Omsk State Transport University
Email: kuznetcovaa994@gmail.com
ORCID iD: 0000-0002-8413-6612
SPIN-code: 8845-5070
PhD student
Russian Federation, OmskMaria A. Volchanina
Omsk State Transport University
Email: kuznetcova994@gmail.com
SPIN-code: 2130-4637
engineer
Russian Federation, OmskAnton V. Ponomarev
Omsk State Transport University
Email: antonyswork@gmail.com
ORCID iD: 0000-0003-1468-5402
SPIN-code: 8927-5050
PhD, docent
Russian Federation, OmskAndrey A. Kuznetsov
Omsk State Transport University
Author for correspondence.
Email: kuznetsovaa.omgups@gmail.com
SPIN-code: 5259-0531
Doctor of Technical Science, professor
Russian Federation, OmskReferences
- Черемисин В.Т., Кузнецов А.А., Волчанина М.А., Горлов А.В. Измерение параметров акустических сигналов имитатора дефектов силовых трансформаторов. // Транспортные системы и технологии. – 2020. – Т. 6. №4. С. 161 – 171. [Cheremisin VT, Kuznetsov AA, Volchanina MA, Gorlov AV. Izmerenie parametrov akusticheskih signalov imitatora defektov silovyh transformatorov. Transportnye sistemy i tehnologii, 2020; T. 6. №4: 161 – 171. (In Russ.)]. Ссылка активна на: 15.02.2023. Доступно по: https://www.elibrary.ru/download/elibrary_44680001_26388528.pdf
- Вдовико В.П. Характеристики частичных разрядов и их применение в оценке качества электрической изоляции высоковольтного оборудования // Электро. Электротехника, электроэнергетика, электротехническая промышленность. – 2005. – № 5. – С. 23–26. [Vdoviko VP. Kharakteristiki chastichnykh razryadov i ikh primenenie v otsenke kachestva elektricheskoi izolyatsii vysokovoltnogo oborudovaniya. Elektro. Elektrotekhnika, elektroenergetika, elektrotekhnicheskaya promyshlennost, 2005;5:23-26. (In Russ.)]. Ссылка активна на: 15.02.2023. Доступно по: https://readera.org/read/142173958
- Markalous SM, Tenbohlen S, Feser K. Detection and location of partial discharges in power transformers using acoustic and electromagnetic signals. IEEE Transactions on Dielectrics and Electrical Insulation. 2008;15:1576-1583 [Internet]. [cited 2023 Feb 15]. Available from: https://ieeexplore.ieee.org/document/4712660
- Поляков Д.А., Шамганов Э.Б., Никитин К.И., Терещенко Н.А. Анализ эффективности регистрации частичных разрядов с использованием индуктивных и емкостных датчиков // Промышленная энергетика. – 2019. – № 12. – С. 30 – 35. [Polyakov DA, Shamganov EB, Nikitin KI, Tereshchenko NA. Analiz effektivnosti registratsii chastichnykh razriadov s ispolzovaniem induktivnykh i emkostnykh datchikov. Promyshlennaia energetika, 2019; 12:30-35. (In Russ.)]. Ссылка активна на: 15.02.2023. Доступно по: http://www.promen.energy-journals.ru/index.php/PROMEN/article/view/1321
- Давиденко И.В., Овчинников К.В. Идентификация дефектов трансформаторов по анализу газов, растворенных в масле // Электротехника. – 2019. – № 4. – С. 48–54. [Davidenko IV, Ovchinnikov KV. Identifikatsiia defektov transformatorov po analizu gazov, rastvorennykh v masle. Elektrotekhnika, 2019;4:48-54. (In Russ.)]. Ссылка активна на: 15.02.2023. Доступно по: https://www.elibrary.ru/item.asp?id=37246280
- Максудов Д.В., Федосов Е.М. Методы селекции сигналов частичных разрядов // Вестник Уфимского государственного авиационного технического университета. – 2009. – № 2 (12). – С. 138–143. [Maksudov DV, Fedosov EM. Metody selektsii signalov chastichnykh razryadov. Vestnik Ufimskogo gosudarstvennogo aviatsionnogo tekhnicheskogo universiteta, 2009; 2(12):138-143. (In Russ.)]. Доступно по: http://journal.ugatu.ac.ru/index.php/Vestnik/article/view/1241/1078 Ссылка активна на: 15.02.2023.
- Taha IBM, Dessouky SS, Ghaly RNR, Ghoneim SSM. Enhanced partial discharge location determination for transformer insulating oils considering allocations and uncertainties of acoustic measurements. Alexandria Engineering Journal; 2020, 12 p. [Internet]. [cited 2023 Feb 15]. Available: https://www.sciencedirect.com/science/article/pii/S1110016820304282
- Bartnikas R. Partial discharges their mechanism, detection and measurement. IEEE Transactions on Dielectrics and Electrical Insulation. 2002;9:763-808 [Internet]. [cited 2023 Feb 15]. Available from: https://ieeexplore.ieee.org/document/1038663
- Lopez-Roldan J, Tang T, Gaskin M. Optimisation of a sensor for onsite detection of partial discharges in power transformers by the UHF method. IEEE Transactions on Dielectrics and Electrical Insulation; 2008;15:1634-1639 [Internet]. [cited 2023 Feb 15]. Available from: https://ieeexplore.ieee.org/document/4712667
- Strachan SM, Rudd S, McArthur SDJ, et al. Knowledge-based diagnosis of partial discharges in power transformers. IEEE Transactions on Dielectrics and Electrical Insulation. 2008;15:259-268. [Internet]. [cited 2023 Feb 15]. Available from: https://www.researchgate.net/publication/3341015_Knowledge- based_diagnosis_of_partial_discharges_in_power_transformers
- Патент РФ на изобретение № 2779269/ 05.09.2022. Бюл. № 25. Волчанина М. А., Горлов А. В., Еркебаев А. Ж., Кузнецов А. А. Устройство для мониторинга силовых трансформаторов. [Pat. RUS № 2779269/ 05.09.2022. Byul. № 25. Volchanina MA., Gorlov AV., Erkebaev AZh., Kuznetsov AA. Ustrojstvo dlja monitoringa silovyh transformatorov. (In Russ.)]. Режим доступа: https://new.fips.ru/ofpstorage/Doc/IZPM/RUNWC1/000/000/002/779/269/%D0%98%D0%97-02779269-00001/document.pdf Дата обращения: 15.02.2023.
- Патент РФ на изобретение № 2370784/ 20.10.2009, Бюл. № 29. Аксенов Ю. П., Прошлецов А. П. Способ определения места локализации и вида дефектов в активной части электрической машины, находящейся в рабочем режиме. [Pat. RUS № 2370784/ 20.10.2009. Byul. № 29. Aksenov JuP., Proshlecov AP. Sposob opredelenija mesta lokalizacii i vida defektov v aktivnoj chasti jelektricheskoj mashiny, nahodjashhejsja v rabochem rezhime. (In Russ.)]. Дата обращения: 15.02.2023. Режим доступа: https://new.fips.ru/Archive/PAT/2009FULL/2009.10.20/DOC/RUNWC1/000/000/002/370/784/DOCUMENT.PDF
- Патент РФ на изобретение № 2615790/ 11.04.2017, Бюл. № 11/. Храмшин В.Р., Карандаев А. С., Храмшин Р. Р., Евдокимов С. А., Сарлыбаев А. А., Николаев А. А. Устройство для мониторинга силовых трансформаторов. [Pat. RUS № 2615790/ 11.04.2017. Byul. № 11. Hramshin VR., Karandaev AS., Hramshin RR., Evdokimov SA., Sarlybaev AA., Nikolaev AA. Ustrojstvo dlja monitoringa silovyh transformatorov (In Russ.)]. Дата обращения: 15.02.2023. Режим доступа: https://www.fips.ru/ofpstorage/Doc/IZPM/RUNWC1/000/000/002/615/790/%D0%98%D0%97-02615790-00001/document.pdf
- Русов В.А. Измерение частичных разрядов в изоляции высоковольтного оборудования. Екатеринбург: УрГУПС, 2011. – 370 с. [Rusov VA. Izmerenie chastichnyh razrjadov v izoljacii vysokovol'tnogo oborudovanija. Ekaterinburg: UrGUPS; 2011. 370 p. (In Russ.)].
- Русов В.А. Диагностический мониторинг высоковольтных силовых трансформаторов. – Пермь: «Компромисс», 2012. – 160 с. [Rusov VA. Diagnosticheskij monitoring vysokovol'tnyh silovyh transformatorov. Perm': «Kompromiss»; 2012. 160 p. (In Russ.)].
- Серьезнов А.Н., Степанова Л.Н., Ивлиев В.В., и др. Акустико-эмиссионный контроль железнодорожных конструкций. – Новосибирск: Наука, 2011. – 272 с. [Ser'eznov AN., Stepanova LN., Ivliev VV., et al. Akustiko-jemissionnyj kontrol' zheleznodorozhnyh konstrukcij. Novosibirsk: Nauka; 2011. 272 p. (In Russ.)].
Supplementary files










